Каталог запасных частей к технике: BOMAG BW 24R. Frame
1
2
3
3
4
5
6
6
7
7
8
8
8
8
8
8
8
8
9
9
10
11
11
12
13
14
15
16
17
18
18
19
19
19
19
20
20
20
22
22
22
23
23
23
23
24
25
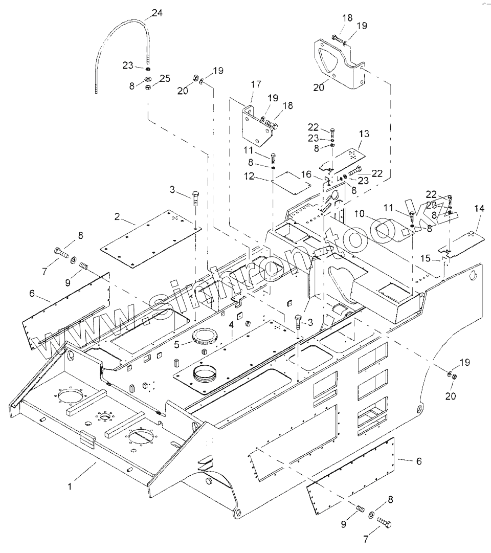
| Позиция на иллюстрации | Заводской номер детали | Название детали | |
|---|---|---|---|
| 1 | 38051106 | Frame | |
| 2 | 38051112 | Cover | |
| 3 | 38051311 | Hexagon bolt | |
| 4 | 38051108 | Cover | |
| 5 | 38052139 | Cover | |
| 6 | 38051102 | Cover | |
| 7 | 07140818 | Hexagon bolt | |
| 8 | 08510817 | Washer | |
| 9 | 38052059 | Set screw | |
| 10 | 38051022 | Cover | |
| 11 | 07140814 | Hexagon bolt | |
| 12 | 38051061 | Cover | |
| 13 | 38051122 | Cover | |
| 14 | 38051121 | Cover | |
| 15 | 38051123 | Protection | |
| 16 | 38051124 | Protection | |
| 17 | 38051017 | Holder | |
| 18 | 38051172 | Hexagon bolt | |
| 19 | 08511021 | Washer | |
| 20 | 08111016 | Hexagon nut | |
| 21 | 38051114 | Holder | |
| 22 | 07140824 | Hexagon bolt | |
| 23 | 08531018 | Spring washer | |
| 24 | 38051077 | Bow | |
| 25 | 08110813 | Hexagon nut |
Содержащиеся в справочниках-каталогах запасные части и детали не предлагаются к продаже, а носят исключительно информационный характер