Каталог запасных частей к технике: BOMAG BW 24R. Cylinder Head
1
2
3
4
5
6
6
7
7
8
8
9
10
11
11
12
12
13
13
14
14
15
15
16
17
18
18
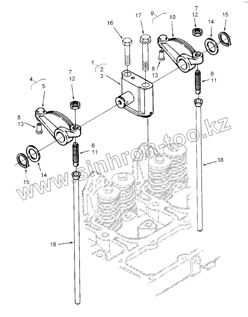
| Позиция на иллюстрации | Заводской номер детали | Название детали | |
|---|---|---|---|
| 1 | 31780734 | Shaft | |
| 2 | 31780735 | Console | |
| 3 | 31780736 | Shaft | |
| 4 | 31780212 | Rocker arm | |
| 5 | 31780737 | Rocker arm Intake | |
| 6 | 31701311 | Screw | |
| 7 | 31780679 | Hexagon nut | |
| 8 | 31780738 | Insert | |
| 9 | 31780203 | Rocker arm | |
| 10 | 31780739 | Rocker arm Exhaust | |
| 11 | 31701311 | Screw | |
| 12 | 31780679 | Hexagon nut | |
| 13 | 31780738 | lnsert | |
| 14 | 31780740 | Washer | |
| 15 | 31780741 | Retainer ring | |
| 16 | 31780742 | Hexagon bolt | |
| 17 | 31780743 | Hexagon bolt | |
| 18 | 31701121 | Pushrod |
Содержащиеся в справочниках-каталогах запасные части и детали не предлагаются к продаже, а носят исключительно информационный характер