Вернуться на главную
Поиск
Каталоги запчастей к технике
Спецтехника
БелАЗ
БелАЗ-7822
Отопитель
Каталог запасных частей к технике: БелАЗ-7822. Отопитель
zoom-in
zoom-out
enlarge
shrink
circle-right
circle-left
file-text2
info
cart
Тип техники
Не выбрано
Легковые автомобили
Грузовые автомобили и прицепы
Автобусы
Сельхозтехника
Спецтехника
Двигатели
Мототехника
Марка
Не выбрано
Ammann
BOMAG
CARMIX
CASE IH
Changlin
ChengGong
Dimex
Doosan
DYNAPAC
Foton
HAMM
Hidromek
Hitachi
Hyundai
JCB
JLG
John Deere
Komatsu
LIEBHERR
LiuGong
Lonking (LongGong)
Luneng
MANITOU
Mitsuber
New Holland
PENGPU
RM-Terex
SANY
SDLG
SEM
Shantui
Shehwa HBXG
Soosan
TIGARBO
VOGELE
Volvo
WAY
WIRTGEN
XCMG
XGMA
Xiamen
YTO
Yuchai
Zoomlion
Автокран
АЗСМ
Алтайлесмаш
Амкодор
АОМЗ
Атек
АТЗ
Балканкар Рекорд
БелАЗ
Беловеж
Борекс
Брянский Арсенал
Булат
ВЭКС
ГАЗ
Геомаш
Гидромаш
Донекс
Дормаш
Дормашина
Дорэлектромаш
ДЭЗ
ЕлАЗ
ЗЗГТ
Ижнефтемаш
Канаш-электрокар
КЗКТ
ККЗ
Клевер
Клинцовский автокрановый завод
КМЗ
КМЗ 1 Мая
Ковровец
Коммаш
Кранэкс
КЭЗ
КЭМЗ
ЛЗА
МАЗ
МЗИК
МЗКМ
МЗКТ
Михневский РМЗ
МоАЗ
Мозырский МЗ
МТЗ
ОЗП
Онежец
ПАО "ТЗА"
ППС Детва
Промтрактор
ПТЗ
Раскат
СпецАгрегат
ТВЭКС
ТТМ
УВЗ
Угличмаш
УЗТМ
ХТЗ
ЧЗКМ
ЧСДМ
ЧТЗ
ЭКСКО
ЭКСМАШ
ЮрМаш
Модель
Не выбрано
7822, 78221 (2016)
7823, 78231 (2016)
БелАЗ-7822 (2008)
БелАЗ-7822 (2011)
БелАЗ-7823 (2008)
Схема
>
Не выбрано
Установка кабины
Кабина
Кабина. Установка приборных панелей и кронштейнов, декоративных панелей
Панель приборов
Дверь кабины
Установка стеклоочистителей и стеклоомывателей
Установка сиденья
Установка кожуха гидропанели
Установка отопителя кабины
Отопитель
Установка трубопроводов отопителя
Установка лестниц
Противосолнечный козырек и зеркало заднего вида
Установка кронштейнов зеркал
Установка капотов
Установка оперения
Установка двигателя на погрузчике БелАЗ-7822
Установка двигателя на погрузчике БелАЗ-78221
Установка предпускового подогревателя на погрузчике БелАЗ-7822
Установка предпускового подогревателя на погрузчике БелАЗ-78221
Установка воздушного фильтра на погрузчике БелАЗ-7822
Установка воздушного фильтра на погрузчике БелАЗ-78221
Фильтр воздушный
Топливный бак и топливопроводы погрузчика БелАЗ-7822
Топливный бак и топливопроводы погрузчика БелАЗ-78221
Бак топливный
Фильтр грубой очистки топлива погрузчика БелАЗ-7822
Обогреватель топлива с фильтром погрузчика БелАЗ-7822
Привод управления подачей топлива погрузчика БелАЗ-7822
Привод управления подачей топлива погрузчика БелАЗ-78221
Цилиндр пневматический
Установка системы выпуска отработавших газов
Установка системы выпуска отработавших газов
Радиаторы системы охлаждения и кожух вентилятора погрузчика БелАЗ-7822
Радиаторы системы охлаждения и кожух вентилятора погрузчика БелАЗ-78221
Кожух с масляным радиатором погрузчика БелАЗ-7822
Кожух с масляным радиатором погрузчика БелАЗ-78221
Радиатор
Трубопроводы системы охлаждения погрузчика БелАЗ-7822
Трубопроводы системы охлаждения погрузчика БелАЗ-78221
Жалюзи радиатора и их привод
Жалюзи радиатора
Пневмопереключатель
Установка гидромеханической передачи
Гидромеханическая передача
Насос масляный передний
Гидротрансформатор с коробкой передач
Согласующая передача
Картер гидротрансформатора в сборе
Картер гидротрансформатора
Колесо первого (второго) реактора
Колесо насоса
Колесо турбины
Коробка передач. Картеры, установка первичного вала
Коробка передач. Установка реверсивного и диапазонного валов
Коробка передач. Установка выходного вала
Коробка передач. Установка маслозаборника и полнопоточного фильтра
Коробка передач. Установка крышек диапазонного, реверсивного валов и брызговиков шестерен
Картер коробки передач
Картер гидромеханической передачи
Коробка передач. Установка золотниковой коробки и механизма управления гидромеханической передачей
Ведущий вал
Реверсивный (диапазонный) вал
Крышка диапазонного вала
Крышка реверсивного вала
Ступица гидротрансформатора
Фрикцион повышающего (понижающего) диапазона
Барабан фрикциона повышающего (понижающего) диапазона
Фрикцион второй передачи
Поршень фрикциона
Барабан фрикциона второй передачи
Механизм управления гидромеханической передачей
Электромагнит
Клапан корректирующий
Элемент фильтрующий маслозаборника
Элемент фильтрующий полнопоточного фильтра
Золотниковая коробка
Трубопроводы и шланги гидромеханической передачи погрузчика БелАЗ-7822
Трубопроводы и шланги гидромеханической передачи погрузчика БелАЗ-78221
Водомасляный теплообменник и его установка
Установка карданных валов на погрузчике БелАЗ-7822
Установка карданных валов на погрузчике БелАЗ-78221
Вал карданный ведущего моста
Муфта карданная
Муфта упругая
Опора промежуточная со стояночным тормозом
Вал карданный промежуточный
Рычаг регулировочный
Мост ведущий передний
Корпус тормоза
Главная передача
Шестерня ведущая главной передачи
Дифференциал переднего моста
Колесная передача
Cтупица колеса
Мост ведущий задний
Корпус тормоза
Главная передача
Шестерня ведущая главной передачи
Дифференциал заднего моста
Колесная передача
Cтупица колеса
Рама
Установка балласта и брызговиков двигателя
Установка брызговиков моторного отсека
Установка подвески
Установка колес
Детали колес
Установка рулевого управления
Колесо рулевое с ручкой и рулевая колонка
Колонка рулевая с кронштейном
Вал карданный рулевого управления
Установка трубопроводов рулевого управления
Цилиндр поворота
Фильтр
Клапан-регулятор
Электродвигатель дублирующего привода с насосом
Монтаж гидравлического привода тормозов
Автомат разгрузки насоса
Кран управления тормозами
Клапан защитный двойной
Цилиндр стояночного тормоза
Кран управления стояночным тормозом
Фильтр
Пневмогидроаккумулятор
Монтаж трубопроводов компрессора на погрузчике БелАЗ-7822
Монтаж трубопроводов компрессора на погрузчике БелАЗ-78221
Водоотделитель
Регулятор давления
Клапан предохранительный
Противозамерзатель
Установка передних фар
Монтаж электрооборудования на кабине
Установка аккумуляторных батарей
Установка задних фар и фонарей
Монтаж электроборудования на шасси БелАЗ 7822
Монтаж электроборудования на шасси БелАЗ 78221
Установка фар и маяка
Установка щитка управления подогревателем
Панель приборов верхняя погрузчика БелАЗ 7822
Панель приборов верхняя погрузчика БелАЗ 78221
Панель приборов погрузчика БелАЗ 7822
Панель приборов погрузчика БелАЗ 78221
Установка погрузочного оборудования
Цилиндр поворота ковша
Цилиндр подъема стрелы
Установка масляного бака
Бак масляный
Трубопроводы погрузочного оборудования
Установка блока гидрораспределителей
Гидрораспределитель управления
Гидрораспределитель
Блок корпусов
Клапан двухмагистральный
Клапан вспомогательный
Клапан предохранительный
Клапан
Клапан редукционный
Установка блока управления
Установка насосов
Инструмент, принадлежности и приспособления
Подшипники
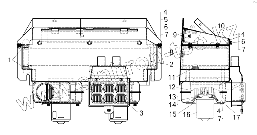
1
2
3
4
4
4
5
6
6
7
7
7
8
9
10
11
12
13
14
15
16
17
Позиция на иллюстрации
Заводской номер детали
Название детали
1
7822-8101043
Прокладка радиатора отопителя
2
7822-8101020-10
Кожух отопителя
3
7555А-8119542
Сопло
4
201418
Болт
5
250508
Гайка
6
252037
Шайба
7
252134
Шайба
8
7822-8101060
Радиатор отопителя
9
75481-8101374-10
Прокладка заслонки
10
7822-8101025-10
Панель кожуха
11
7822-8101074
Прокладка радиатора отопителя
12
75481-8102028
Ротор вентилятора
13
250464
Гайка
14
252269
Шайба
15
75481-8102044
Диск электродвигателя
16
630.3730
Электродвигатель (60 Вт)
17
75481-8102240
Прокладка диска электродвигателя
Содержащиеся в справочниках-каталогах запасные части и детали не предлагаются к продаже, а носят исключительно информационный характер
Дополнительная информация
×
Название:
Номер:
Примечание: