Каталог запасных частей к технике: БелАЗ-7822. Цилиндр поворота ковша
1
1
2
2
3
4
5
6
7
7
8
9
10
11
11
12
12
12
12
13
14
14
15
16
17
17
18
19
20
21
22
23
23
24
25
26
26
27
28
29
30
31
32
33
34
35
36
37
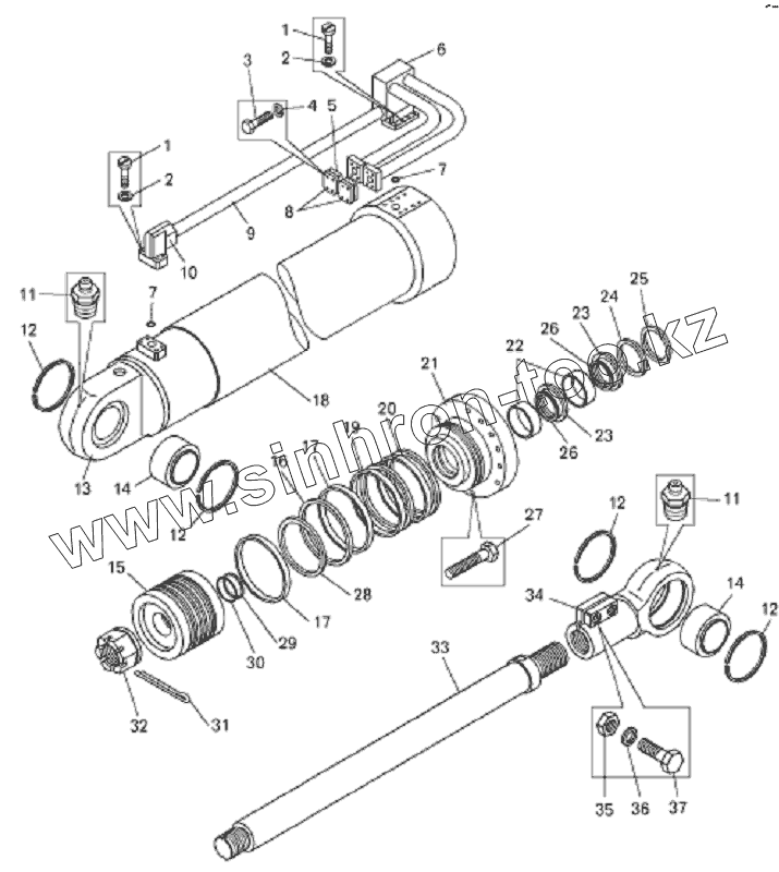
| Позиция на иллюстрации | Заводской номер детали | Название детали | |
|---|---|---|---|
| 7822-4614080-20 | 7822-4614080-20 | Корпус цилиндра правый в сборе | |
| 7822-4614070-20 | 7822-4614070-20 | Корпус цилиндра левый в сборе | |
| 1 | 341347 | Винт М10х35 (0034131700) | |
| 2 | 252136 | Шайба | |
| 3 | 201495 | Болт | |
| 4 | 252006 | Шайба | |
| 5 | 75306-8606319 | Прокладка | |
| 6 | 7822-4614140-10 | Фланец | |
| 7 | 034-040-36-2-6 | Кольцо | |
| 8 | 75306-8606224 | Пластина | |
| 9 | 7822-4614148-10 | Труба | |
| 10 | 7822-4613072-10 | Фланец | |
| 11 | 1.3Ц6хр | Масленка | |
| 12 | 540-8603076-10 | Кольцо стопорное | |
| 13 | 7822-4614075 | Крышка цилиндра задняя | |
| 14 | ШСЛ-90К-1 | Подшипник | |
| 15 | 7822-4614061 | Поршень | |
| 16 | РТ0401800-Т46Т | Поршневое уплотнение | |
| 17 | GP7301800-C380 | Кольцо опорное поршневое | |
| 18 | 7822-4614098 | Труба | |
| 19 | 170-180-58-2-2 | Кольцо | |
| 20 | 540-8603091 | Шайба защитная | |
| 21 | 7822-4614055-10 | Крышка передняя | |
| 22 | GR7300800-C380 | Кольцо опорное штоковое | |
| 23 | ORAR00340-N7237 | Кольцо | |
| 24 | WE5200800-T46T | Грязесъемник | |
| 25 | ORAR00237-N7237 | Кольцо | |
| 26 | RS1300800-T46T | Штоковое уплотнение | |
| 27 | 340758 | Болт М24х110 | |
| 28 | ORAR00438-N7237 | Кольцо | |
| 29 | 7822-4614017 | Шайба защитная | |
| 30 | 065-070-30-2-2 | Кольцо | |
| 31 | 258103 | Шплинт | |
| 32 | 342432 | Гайка М64х3 | |
| 33 | 7822-4614084 | Шток | |
| 34 | 75131-3003060 | Наконечник штока | |
| 35 | 250560 | Гайка | |
| 36 | 252139 | Шайба | |
| 37 | 200864 | Болт |
Содержащиеся в справочниках-каталогах запасные части и детали не предлагаются к продаже, а носят исключительно информационный характер