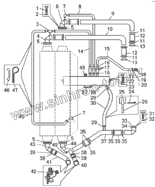
Каталог запасных частей к технике: БелАЗ-7822. Трубопроводы системы охлаждения погрузчика БелАЗ-78221
1
2
3
4
5
5
5
5
6
7
7
8
9
10
11
11
11
12
12
13
13
14
15
16
16
17
18
19
20
21
22
23
24
25
26
27
28
29
29
30
31
32
33
34
35
35
35
36
36
37
38
38
39
39
40
41
42
43
44
45
46
47
48
49
| Позиция на иллюстрации | Заводской номер детали | Название детали | |
|---|---|---|---|
| 1 | 201458 | Болт | |
| 2 | 252135 | Шайба | |
| 3 | 344174 | Тройник | |
| 4 | 78211-1303240 | Патрубок | |
| 5 | 549А-1303052 | Прокладка | |
| 6 | 78211-1303241 | Патрубок | |
| 7 | 379053 | Угольник | |
| 8 | 78211-1303114 | Труба | |
| 9 | 78211-1303031 | Труба | |
| 10 | 78211-1303042 | Труба | |
| 11 | 75482-1303370 | Хомут | |
| 12 | 7548-1303067 | Шланг | |
| 13 | 78211-1303084 | Патрубок | |
| 14 | 78211-1303112 | Труба | |
| 15 | 78211-1303118 | Труба | |
| 16 | 308764 | Хомут | |
| 17 | 540-1303067 | Шланг | |
| 18 | 314612 | Ниппель | |
| 19 | 314802 | Муфта | |
| 20 | 344810 | Гайка накидная | |
| 21 | 201499 | Болт | |
| 22 | 252136 | Шайба | |
| 23 | 252006 | Шайба | |
| 24 | 297575 | Шплинт | |
| 25 | 297580 | Пряжка | |
| 26 | 297588 | Лента | |
| 27 | 500А-1304010 | Пробка | |
| 28 | 78211-1311010 | Бачок расширительный | |
| 29 | 75211-1303370 | Хомут | |
| 30 | 7519-1303185 | Шланг | |
| 31 | 3010595 | Болт 3 | |
| 32 | 252136 | Шайба | |
| 33 | 205288 | Прокладка | |
| 34 | 754731-1303065 | Патрубок | |
| 35 | 549А-1303350-01 | Хомут | |
| 36 | 549А-1303454 | Шланг | |
| 37 | 78211-1303058 | Труба | |
| 38 | 525-1303010-10 | Шланг | |
| 39 | 549А-1303360-01 | Хомут | |
| 40 | 78211-1303091-10 | Труба | |
| 41 | 78211-1303020 | Труба | |
| 42 | ПС7 | Кран | |
| 43 | 78211-1303201 | Патрубок | |
| 44 | 78211-1303060-10 | Труба | |
| 45 | 78211-1303167 | Труба | |
| 46 | 548А-1104696-01 | Прокладка | |
| 47 | 315412 | Кляммер | |
| 48 | 262541 | Пробка | |
| 49 | 7548-1305020 | Кран |
Содержащиеся в справочниках-каталогах запасные части и детали не предлагаются к продаже, а носят исключительно информационный характер