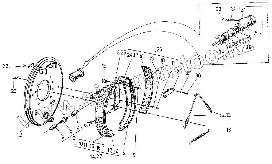
Каталог запасных частей к технике: Балканкар Рекорд ЕС-301.2. Сервотормоз
6981.20.00.00.00-01
6980.20.00.00.00-01
1
2
3
4
5
6
8
9
10
10
12
13
15
15
16
16
17
17
18
19
20
22
23
24
24
25
26
27
28
29
30
31
32
33
34
35
36
37
38
39
| Позиция на иллюстрации | Заводской номер детали | Название детали | |
|---|---|---|---|
| 6981.20.00.00.00-01 | 6981.20.00.00.00-01 | Сервотормоз Ф270 | |
| 6980.20.00.00.00-01 | 6980.20.00.00.00-01 | Сервотормоз ф270 | |
| 1 | 6981.20.01.00.00-02 | Тормозной диск | |
| 2 | 6981.20.01.00.00-01 | Тормозной диск | |
| 3 | 6981.03.00.00 | Сцепляющий механизм | |
| 4 | 6981.03.00.03 | Опорная втулка | |
| 5 | 6981.03.02.00 | Шестерня в сборе | |
| 6 | 6981.03.00.01 | Специальная втулка | |
| 8 | 2 10Н БДС833-82 | Шайба | |
| 9 | [Гайка БДС1269-73/5] | Гайка БДС1269-73/5 | |
| 10 | 6981.01.00.02 | Стопорная пружина | |
| 12 | С02.00.00.19 | Пружина возвратная | |
| 13 | 6981.00.00.02 | Возвратная пружина | |
| 15 | 6981.01.00.04 | Заклепка | |
| 16 | 6981.01.00.01 | Тормозная накладка | |
| 17 | 6981.20.02.00.01 | Колодка тормозная | |
| 18 | 6980.20.05.00.00 | Рычаг в сборе | |
| 19 | 6981.20.00.00.03 | Эксцентриковый болт | |
| 20 | 4456.00-01 | Колесный тормозной цилиндр двойного действия КСЦД 28 | |
| 22 | [Болт I М9х25 БДС1232-72/8.8] | Болт I М9х25 БДС1232-72/8.8 | |
| 23 | 6981.00.00.06 | Рычаг | |
| 24 | 6981.20.03.00.01-01 | Колодка тормозная | |
| 25 | 6931.20.04.00.00 | Рычаг в сборе | |
| 26 | 6981.20.02.00.00-01 | Тормозная колодка | |
| 27 | 6981.20.03.00.00-01 | Тормозная колодка | |
| 28 | 6981.20.00.00.01 | Планка | |
| 29 | [Шайба 2 8Н БДС833-82] | Шайба 2 8Н БДС833-82 | |
| 30 | [Болт I М8х20 БДС1232-72/6.6] | Болт I М8х20 БДС1232-72/6.6 | |
| 31 | 4435.01 | Корпус | |
| 32 | 3Н1720 | Клапан удаления воздуха М8х39 | |
| 33 | 3Н1721 | Предохранительный колпачок | |
| 34 | 4456.01 | Опорный штифт | |
| 35 | 3Н6910 | Предохранительная мембрана 28х10 | |
| 36 | 4435.02 | Поршень | |
| 37 | 3Н6430 | Манжета 28 | |
| 38 | 4435.03 | Тарелка | |
| 39 | 4435.04 | Пружина |
Содержащиеся в справочниках-каталогах запасные части и детали не предлагаются к продаже, а носят исключительно информационный характер