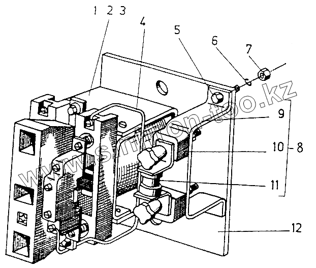
Каталог запасных частей к технике: Балканкар Рекорд ЕС-301.2. Электрический щит дополнительный
3851.00.00.00
1
2
3
4
5
6
7
8
9
10
11
12
| Позиция на иллюстрации | Заводской номер детали | Название детали | |
|---|---|---|---|
| 3851.00.00.00 | 3851.00.00.00 | Электрощит дополнительный | |
| 1 | 4237102.00.00 | Контактор КПЕ-4 63А 40V | |
| 2 | [Винт М4х10 БДС832-76/5,6] | Винт М4х10 БДС832-76/5,6 | |
| 3 | [Шайба 2 4Н БДС333-72] | Шайба 2 4Н БДС333-72 | |
| 4 | 3331.00.00.51 | Провод | |
| 5 | [Винт М6х16 БДС332-76/5.6] | Винт М6х16 БДС332-76/5.6 | |
| 6 | [Шайба 2 6H БДС333-72] | Шайба 2 6H БДС333-72 | |
| 7 | [Гайка БДС744-72/5] | Гайка БДС744-72/5 | |
| 8 | 3826.00.03.00 | Предохранитель в сборе | |
| 9 | 3826.00.03.01 | Кронштейн | |
| 10 | 009923 | Цоколь предохранителя 00-60,63А | |
| 11 | 47400 | Предохранитель П-60,63 А | |
| 12 | 3851.00.01.00 | Плита в сборе |
Содержащиеся в справочниках-каталогах запасные части и детали не предлагаются к продаже, а носят исключительно информационный характер