Каталог запасных частей к технике: Балканкар Рекорд ЕП-011.2. Электрооборудование
1
2
3
3
3
4
4
4
5
5
6
7
7
8
9
9
9
9
10
10
10
10
11
11
11
12
13
14
14
14
15
15
15
16
16
16
17
17
18
19
20
22
22
22
23
24
25
26
27
27
27
28
29
30
31
32
32
32
33
33
34
34
35
35
36
36
37
37
38
38
39
39
39
40
40
40
41
42
44
45
46
47
47
48
49
50
51
52
52
52
53
53
53
54
54
54
55
56
57
57
58
59
60
61
62
63
64
65
66
66
67
67
68
68
68
69
70
71
71
72
73
74
75
76
77
78
79
79
80
81
82
83
83
83
85
86
87
88
89
90
91
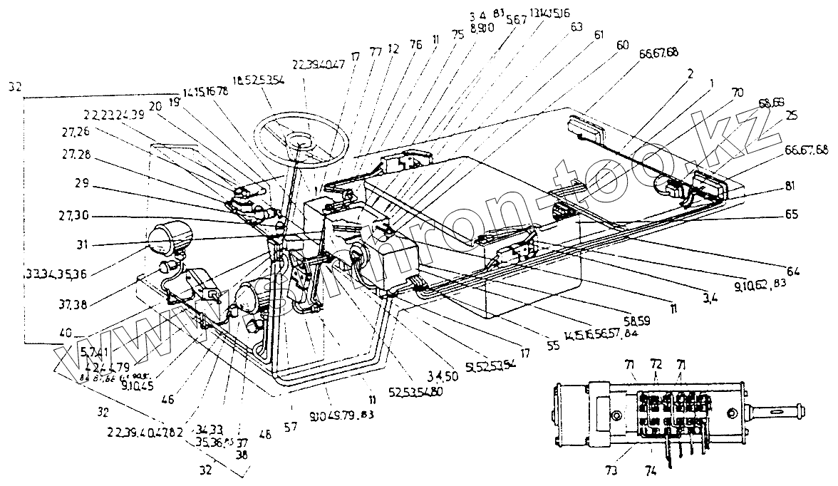
| Позиция на иллюстрации | Заводской номер детали | Название детали | |
|---|---|---|---|
| 301.2.12.00.00 | 301.2.12.00.00 | Электрооборудование | |
| 1 | 011.2.15.07.00-01 | Провод 140 (L=3160) | |
| 2 | 011.2.15.07.00 | Провод 139 (L=3160) | |
| 3 | 011.2.15.00.01 | Лента прокладочная | |
| 4 | 011.2.15.00.02 | Лента стяжная | |
| 5 | [Болт I М6х16-8g БДС1232-72/5.6] | Болт I М6х16-8g БДС1232-72/5.6 | |
| 6 | [Гайка М6-7Н БДС744-72/5] | Гайка М6-7Н БДС744-72/5 | |
| 7 | [Шайба 2 6Н БДС833-72] | Шайба 2 6Н БДС833-72 | |
| 8 | 011.2.15.04.00 | Штепсельное соединение с проводами | |
| 9 | [Винт I М5х12-8g БДС1358-72/5.6] | Винт I М5х12-8g БДС1358-72/5.6 | |
| 10 | [Шайба 2 5H БДС833-72] | Шайба 2 5H БДС833-72 | |
| 11 | 511.05.00.20 | Резиновая втулка | |
| 12 | 011.2.15.08.00-02 | Провод 152 (L=1400) | |
| 13 | КтЕ1031-01 | Звуковой сигнал 12V | |
| 14 | [Болт I М8х16-6g БДС1232-72/5.6] | Болт I М8х16-6g БДС1232-72/5.6 | |
| 15 | [Гайка М8-7Н БДС744-72/5] | Гайка М8-7Н БДС744-72/5 | |
| 16 | [Шайба 2 8Н-7Н БДС833-72] | Шайба 2 8Н-7Н БДС833-72 | |
| 17 | 006.71.16.07 | Втулка резиновая | |
| 18 | 011.2.15.09.00 | Кронштейн правый | |
| 19 | 40709.00.00.00 | Ключ цепи управления | |
| 20 | 40879-III | Реверс тип ПРЕ 010/В | |
| 22 | [Гайка M4-7Н БДС744-72/5] | Гайка M4-7Н БДС744-72/5 | |
| 23 | [Винт I М4х12-8g БДС1358-72/5.6] | Винт I М4х12-8g БДС1358-72/5.6 | |
| 24 | 82130 | Переключатель тип П-5 | |
| 25 | 301.2.12.01.00-01 | Провод 83 (L=4050) | |
| 26 | 36.2.908.308 | Лампа для щитка приборов - красная КтЕ641 | |
| 27 | [Лампа АК1222 12V 1,5W БДС6310-77] | Лампа АК1222 12V 1,5W БДС6310-77 | |
| 28 | 36.2.908.308 | Лампа для щитка приборов - красная КтЕ641 | |
| 29 | 011.2.15.01.04-00 | Провод 65 (L=120) | |
| 30 | 36.2.908.308 | Лампа для щитка приборов - красная КтЕ641 | |
| 31 | 011.2.15.01.03-00 | Провод 19 (L=160) | |
| 32 | 301.2.12.04.00 | Электрооборудование переднего щита | |
| 33 | 006.71.16.06 | Шайба | |
| 34 | 7007.00.00.35 | Резина профильная (L=430) | |
| 35 | 36.2.908.937 | Передние фары | |
| 36 | [Лампа 1221 12V 35/35W БДС7356-77] | Лампа 1221 12V 35/35W БДС7356-77 | |
| 37 | 36.2.908.854 | Фара габаритная | |
| 38 | [Лампа 1253 12V 21/5W БДС5263-77] | Лампа 1253 12V 21/5W БДС5263-77 | |
| 39 | [Шайба 2 4Н БДС833-72] | Шайба 2 4Н БДС833-72 | |
| 40 | [Шайба М4 БДС14494-73] | Шайба М4 БДС14494-73 | |
| 41 | 00.84.08 | Командоконтроллер ножной 730 С 603 | |
| 42 | 011.2.15.01.01 | Кронштейн | |
| 44 | [Винт I М5х12-8g БДС1359-75/5.6] | Винт I М5х12-8g БДС1359-75/5.6 | |
| 45 | 011.2.15.01.02-00 | Кронштейн в сборе | |
| 46 | 301.2.12.04.02.00 | Пучок проводов | |
| 47 | 4432101 | Выключатель блокировочный, малый 11 | |
| 48 | 3012.12.03.00 | Пучок проводов | |
| 49 | 011.2.15.05.00 | Штепсельное соединение с проводами | |
| 50 | 011.08.00.03 | Втулка резиновая | |
| 51 | 011.2.15.06.00 | Кронштейн левый | |
| 52 | [Болт I М12х25-9g БДС1232-72/5.6] | Болт I М12х25-9g БДС1232-72/5.6 | |
| 53 | [Гайка М12-7Н БДС744-72/5] | Гайка М12-7Н БДС744-72/5 | |
| 54 | [Шайба 2 12Н БДС833-72] | Шайба 2 12Н БДС833-72 | |
| 55 | 001.3.06.00.01 | Уплотнение | |
| 56 | 3833.1.00.00.00 | Распределительный щит | |
| 57 | 3824.00.00.07 | Пружина | |
| 58 | [Клемма А25 БДС3148-69] | Клемма А25 БДС3148-69 | |
| 59 | [(L=560) БДС4894-73] | Труба винилитовая (L=560) БДС4894-73 | |
| 60 | 011.2.15.08.00-01 | Провод 150 (L=920) | |
| 61 | 011.2.15.08.00 | Провод 151 (L=1130) | |
| 62 | 011.2.15.03.00 | Штепсельное соединение с проводами | |
| 63 | 3541.00.00.00 | Пусковой резистор | |
| 64 | 011.2.15.07.00-02 | Провод 141 (L=3500) | |
| 65 | 80391 | Аккумуляторная батарея 2х40V 250Ah | |
| 66 | 011.2.15.00.03-04 | Провод (L=120) | |
| 67 | 36.2.908.704 | Задний комбинированный осветительный корпус КтЕ249 | |
| 68 | [Лампа 1232 12V 10W БДС5675-76] | Лампа 1232 12V 10W БДС5675-76 | |
| 69 | 36.2.908.507 | Стоп-сигнал и фонарь освещения номера | |
| 70 | 011.2.15.07.00-03 | Провод 142 (L=3100) | |
| 71 | 011.2.15.00.03-01 | Провод (L=85) | |
| 72 | 011.2.15.00.03 | Провод (L=45) | |
| 73 | 011.2.15.00.03-03 | Провод (L=70) | |
| 74 | 011.2.15.00.03-02 | Провод (L=60) | |
| 75 | 301.2.12.02.00 | Пучок проводов | |
| 76 | 301.2.12.01.00 | Провод 84 (L=1000) | |
| 77 | 301.2.12.01.00-02 | Провод 94 (L=1250) | |
| 78 | 3851.00.00.00 | Электрощит дополнительный | |
| 79 | [Гайка М5-7Н БДС744-72/5] | Гайка М5-7Н БДС744-72/5 | |
| 80 | 301.2.12.06.00 | Кронштейн | |
| 81 | 301.2.12.01.00-03 | Провод 82 (L=3900) | |
| 82 | [Винт I М4х16-8g БДС1358-72/5.6] | Винт I М4х16-8g БДС1358-72/5.6 | |
| 83 | [Винт М5х10-8g БДС1358-72/5.6] | Винт М5х10-8g БДС1358-72/5.6 | |
| 85 | [Шайба М6 БДС14494-78] | Шайба М6 БДС14494-78 | |
| 86 | 022.746.003 | Индикатор разрядки аккумуляторной батареи 40-I | |
| 87 | 82.300 | Реле указателей поворота | |
| 88 | [Винт I М4х35-8g БДС832-76/5.6] | Винт I М4х35-8g БДС832-76/5.6 | |
| 89 | [Гайка М4-7Н БДС1250-71/5] | Гайка М4-7Н БДС1250-71/5 | |
| 90 | [Винт I М6х6-8g БДС832-76/5.6] | Винт I М6х6-8g БДС832-76/5.6 | |
| 91 | [Шайба М6 БДС14494-73] | Шайба М6 БДС14494-73 |
Содержащиеся в справочниках-каталогах запасные части и детали не предлагаются к продаже, а носят исключительно информационный характер