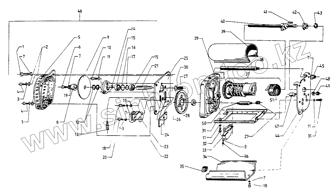
Каталог запасных частей к технике: Балканкар Рекорд EB-735. Командоконтроллер S730 c503
44124.00.00
1
2
3
3
3
3
4
4
5
6
7
7
7
7
7
8
9
10
11
11
11
12
13
14
15
15
16
17
18
18
19
19
20
21
22
23
24
25
26
27
27
28
29
30
31
31
32
33
34
35
36
37
38
39
40
41
42
43
44
45
46
47
48
49
50
51
| Позиция на иллюстрации | Заводской номер детали | Название детали | |
|---|---|---|---|
| 44124.00.00 | 44124.00.00 | Командоконтроллер | |
| 1 | [Винт II М5х20 БДС832-76/5.6] | Винт II М5х20 БДС832-76/5.6 | |
| 2 | [Шайба АМ3 БДС206-78] | Шайба АМ3 БДС206-78 | |
| 3 | [Шайба 2-3Н БДС833-71] | Шайба 2-3Н БДС833-71 | |
| 4 | [Винт М3х8 БДС832-76/5.6] | Винт М3х8 БДС832-76/5.6 | |
| 5 | 44122.06.01 | Крышка | |
| 6 | [Винт М5х10 БДС832-76/5.6] | Винт М5х10 БДС832-76/5.6 | |
| 7 | [Шайба 2-5Н БДС633-71] | Шайба 2-5Н БДС633-71 | |
| 8 | 44122.04.01 | Втулка распорная 4 | |
| 9 | 44122.08.04 | Шайба | |
| 10 | [Винт М4х10 БДС632-76/5.6] | Винт М4х10 БДС632-76/5.6 | |
| 11 | [Шайба 2-4Н БДС833-71] | Шайба 2-4Н БДС833-71 | |
| 12 | 44122.04.06 | Шайба | |
| 13 | 44122.06.02 | Болт регулирующий | |
| 14 | 44122.08.02 | Гнездо | |
| 15 | 603-22 | Подшипник шариковый DIN625 | |
| 16 | 44122.08.03 | Шайба | |
| 17 | [Кольцо А22 БДС2170-77] | Кольцо А22 БДС2170-77 | |
| 18 | [Винт М5х8 БДС832-76/5.6] | Винт М5х8 БДС832-76/5.6 | |
| 19 | [Шайба АМ5 БДС206-78] | Шайба АМ5 БДС206-78 | |
| 20 | [Винт М3х12 БДС832-76/6.6] | Винт М3х12 БДС832-76/6.6 | |
| 21 | 44122.08.01 | Вал | |
| 22 | 44122.03.00 | Магнит постоянный | |
| 23 | 44122.06.03 | Втулка | |
| 24 | 44122.06.04 | Фиксирующая планка | |
| 25 | 44122.07.00 | Основание | |
| 26 | [Кольцо В8 БДС2170-77] | Кольцо В8 БДС2170-77 | |
| 27 | 44122.01.05 | Шестерня | |
| 28 | [Подшипник игольчатый НК-10х10х9 ГФР] | Подшипник игольчатый НК-10х10х9 ГФР | |
| 29 | 44122.02.00 | Основание | |
| 30 | 44122.05.00 | Шестерня | |
| 31 | 44122.01.01 | Шасси | |
| 32 | [Винт II М4х8-6g БДС832-76/5.6] | Винт II М4х8-6g БДС832-76/5.6 | |
| 33 | 44034.00.00 | Выключатель мгновенного действия S800a | |
| 34 | 44117.01.01 | Крышка верхняя | |
| 35 | 44117.01.07 | Уплотнение | |
| 36 | [Винт II М3х6х6g БДС832-76/5,6] | Винт II М3х6х6g БДС832-76/5,6 | |
| 37 | 44124.02.00 | Вал | |
| 38 | 44117.01.03 | Шпилька | |
| 39 | 44117.01.04 | Крышка нижняя | |
| 40 | 44117.11.01 | Вал | |
| 41 | [Шпонка В3х3х14 БДС3389-73] | Шпонка В3х3х14 БДС3389-73 | |
| 42 | 44124.01.15 | Труба ТВ 010х11,6 БДС4894-73 | |
| 43 | [Кольцо В10 БДС2170-77] | Кольцо В10 БДС2170-77 | |
| 44 | 44117.03.00 | Основание | |
| 45 | [Гайка I М5-6Н БДС744-72] | Гайка I М5-6Н БДС744-72 | |
| 46 | 44122.06.00 | Времяопаздывающее устройство | |
| 47 | 44117.03.01 | Болт специальный М6 | |
| 48 | [Шайба 2-6Н БДС833-71] | Шайба 2-6Н БДС833-71 | |
| 49 | [Гайка I М6-6Н БДС1250-71/5] | Гайка I М6-6Н БДС1250-71/5 | |
| 50 | 44117.05.01 | Вал | |
| 51 | 44117.12.01 | Пружина |
Содержащиеся в справочниках-каталогах запасные части и детали не предлагаются к продаже, а носят исключительно информационный характер