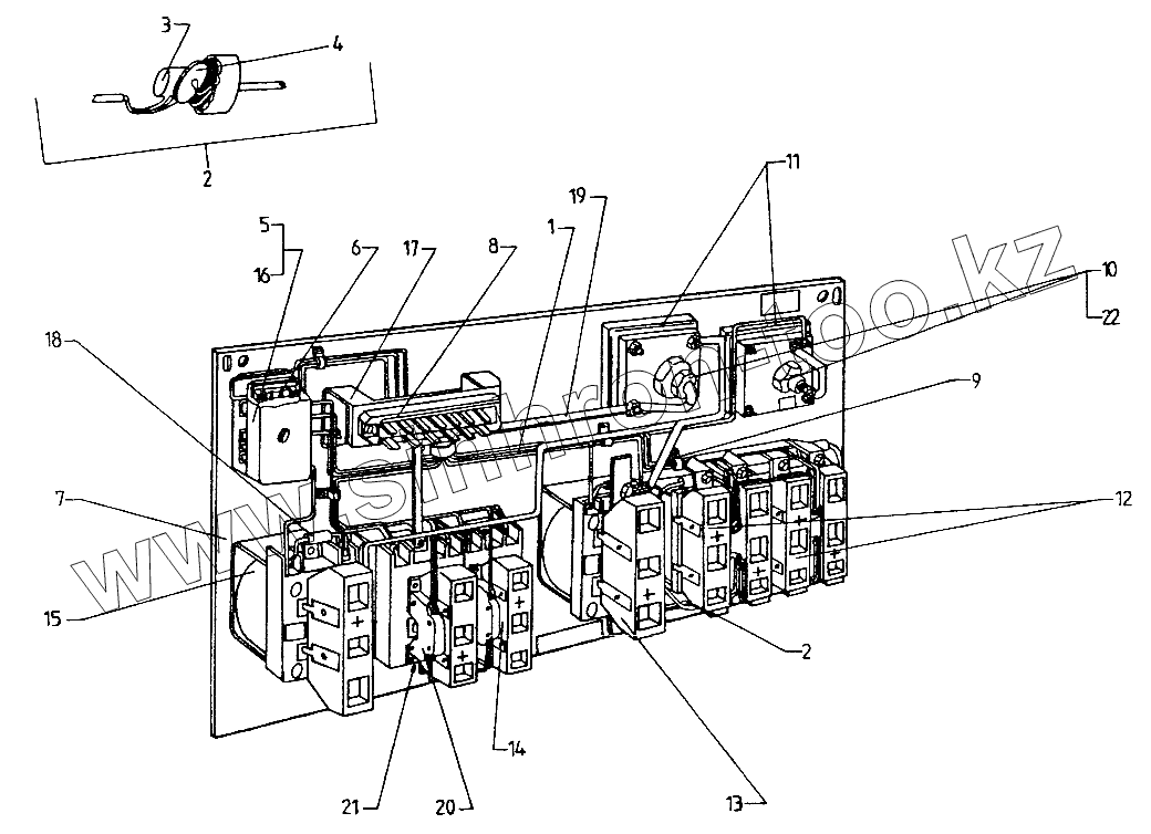
Каталог запасных частей к технике: Балканкар Рекорд EB-687. Электрощит
3811.3.00.00.00
1
2
2
3
4
5
6
7
8
9
10
11
12
13
14
15
16
17
18
19
20
21
22
| Позиция на иллюстрации | Заводской номер детали | Название детали | |
|---|---|---|---|
| 3811.3.00.00.00 | 3811.3.00.00.00 | Электрощит | |
| 1 | 3811.3.00.02.00 | Пучок проводов | |
| 2 | 3828.00.02.00 | Искрогасительный контур | |
| 3 | [Конденсатор тип КМПТ-Пр-96 400У] | Конденсатор тип КМПТ-Пр-96 400У | |
| 4 | [Варистор НР 100] | Варистор НР 100 | |
| 5 | [Щит предохранителей ТП-6.1 БДС5003-73] | Щит предохранителей ТП-6.1 БДС5003-73 | |
| 6 | [Предохранитель 8А DIN72581] | Предохранитель 8А DIN72581 | |
| 7 | 3811.3.00.01.00 | Плита в сборе | |
| 8 | [Соединитель С20В БДС8368-70] | Соединитель С20В БДС8368-70 | |
| 9 | 3823.00.00.12 | Скоба | |
| 10 | 3811.3.01.00.00 | Диод в сборе | |
| 11 | 3811.3.00.00.02 | Изоляция | |
| 12 | 42353.00.00-02 | Контактор КПД-5 с катушкой 40V | |
| 13 | 42359.00.00.12 | Контактор КПЕ-6 с катушкой 40V | |
| 14 | 42371.00.00-92 | Контактор КПЕ-4 с катушкой 40V | |
| 15 | 42359.00.00-72 | Контактор пониженного напряжения КПЕ-6 с катушкой 40V | |
| 16 | 3811.3.00.00.03 | Кронштейн | |
| 17 | 3812.00.00.05 | Скоба | |
| 18 | 3812.00.03.00 | Искрогасительный контур | |
| 19 | 3811.3.00.05.00 | Изолированная шина | |
| 20 | 42371.00.00-12 | Контактор КПЕ-4 с катушкой 40V | |
| 21 | 3827.6.00.00.02 | Медная шина | |
| 22 | 3811.3.00.00.01 | Втулка изоляционная |
Содержащиеся в справочниках-каталогах запасные части и детали не предлагаются к продаже, а носят исключительно информационный характер