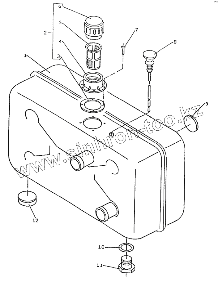
Каталог запасных частей к технике: Балканкар Рекорд ДВ-1784. Масляный бак в сборе
6768.00.00.00
1
2
3
4
5
6
7
8
9
10
11
12
| Позиция на иллюстрации | Заводской номер детали | Название детали | |
|---|---|---|---|
| 6768.00.00.00 | 6768.00.00.00 | Масляный блок в сборе | |
| 1 | 6768.01.00.00 | Масляный бак | |
| 2 | 6767.03.00.00 | Горловина в сборе | |
| 3 | 6747.100.00.01 | Уплотнение | |
| 4 | 6767.02.00.01 | Горловина | |
| 5 | 6747.102.02.00 | Сетка | |
| 6 | 6767.03.01.00 | Пробка в сборе | |
| 7 | [Винт 2Б М5х16-5.6 БДС1358-85] | Винт 2Б М5х16-5.6 БДС1358-85 | |
| 8 | 6768.00.01.00 | Масляный щуп | |
| 9 | 6767.00.00.01 | Амортизатор | |
| 10 | [Кольцо А23х3 БДС7947-79] | Кольцо А23х3 БДС7947-79 | |
| 11 | 6747.103.00.00 | Пробка с магнитом | |
| 12 | 6767.00.00.02 | Амортизатор |
Содержащиеся в справочниках-каталогах запасные части и детали не предлагаются к продаже, а носят исключительно информационный характер