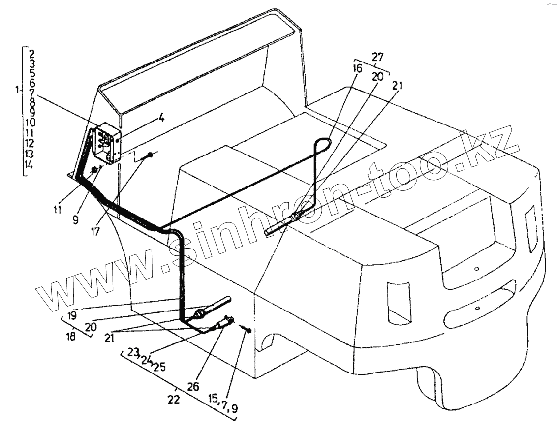
Каталог запасных частей к технике: Балканкар Рекорд ДВ-1661. Электрооборудование подогревателей
1661.33.11.05.00.00
1
2
3
4
5
6
7
7
8
9
9
9
10
11
11
12
13
14
15
16
17
18
19
20
20
21
21
22
23
24
25
26
27
| Позиция на иллюстрации | Заводской номер детали | Название детали | |
|---|---|---|---|
| 1661.33.11.05.00.00 | 1661.33.11.05.00.00 | Электрооборудование подогревателей | |
| 1 | 1661.33.11.05.01.00 | Коробка в сборе | |
| 2 | 1661.33.11.05.01.01.00 | Коробка | |
| 3 | 1661.33.11.05.01.02.00 | Провод | |
| 4 | 1661.33.11.05.00.01 | Уплотнение | |
| 5 | 710.10.08.00 | Двухштифтовая коробка | |
| 6 | [Лампа приборного щитка ОН-04 62517-72] | Лампа приборного щитка ОН-04 62517-72 | |
| 7 | [Сальник 20-12х18 БДС6526-67] | Сальник 20-12х18 БДС6526-67 | |
| 8 | [Винт I М4х10-8g БДС1358-72/5,6] | Винт I М4х10-8g БДС1358-72/5,6 | |
| 9 | [Шайба 2 4Н БДС833-71] | Шайба 2 4Н БДС833-71 | |
| 10 | [Шайба М4 БДС14494-78] | Шайба М4 БДС14494-78 | |
| 11 | [Гайка М4-7Н БДС744-72/5] | Гайка М4-7Н БДС744-72/5 | |
| 12 | [Гайка М8-7Н БДС744-72/5] | Гайка М8-7Н БДС744-72/5 | |
| 13 | [Винт I М3х20-8g БДС1358-72/5,6] | Винт I М3х20-8g БДС1358-72/5,6 | |
| 14 | [Клемма (4 элемента) БДС31 48-69] | Клемма (4 элемента) БДС31 48-69 | |
| 15 | [Винт I М4х6-8С БДС832-76/5,6] | Винт I М4х6-8С БДС832-76/5,6 | |
| 16 | [Шнур ШСК (3х1кв.мм, L=1500) БДС8759-71] | Шнур ШСК (3х1кв.мм, L=1500) БДС8759-71 | |
| 17 | [Винт I М4х12-8 БДС1358-72/5,6] | Винт I М4х12-8 БДС1358-72/5,6 | |
| 18 | 1661.33.11.05.02.00 | Подогреватель с шнуром | |
| 19 | [Шнур ШСК (3х1кв.мм, L=1800) БДС8759-71] | Шнур ШСК (3х1кв.мм, L=1800) БДС8759-71 | |
| 20 | 82152.03.00 | Подогреватель масла НМ-03 | |
| 21 | [Кольцо I А33х39 БДС3609-73] | Кольцо I А33х39 БДС3609-73 | |
| 22 | 1661.33.11.05.04.00 | Ограничитель температуры в сборе | |
| 23 | 1661.33.11.05.04.02.00 | Шнур в сборе | |
| 24 | 1661.33.11.05.04.01 | Крышка | |
| 25 | 82152.02.01 | Шайба | |
| 26 | [Скоба А58,5-61 БДС8648-71] | Скоба А58,5-61 БДС8648-71 | |
| 27 | 1661.33.11.05.033.00 | Подогреватель с шнуром |
Содержащиеся в справочниках-каталогах запасные части и детали не предлагаются к продаже, а носят исключительно информационный характер