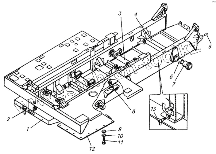
Каталог запасных частей к технике: АЗСМ МСН-10. Рама
1
1
2
3
4
5
6
7
8
9
10
11
12
13
| Позиция на иллюстрации | Заводской номер детали | Название детали | |
|---|---|---|---|
| 1 | МТ4.30.002-01 | Остов рамы | |
| 1 | МТ4.30.002 | Остов рамы | |
| 2 | МТ4.30.026 | Шкворень | |
| 3 | МТ4.30.025 | Труба средняя | |
| 4 | МТ4.30.010 | Труба задняя | |
| 5 | 76Т-15-046 | Штифт | |
| 6 | Т4.30.173 | Втулка | |
| 7 | МТ4.30.172 | Втулка | |
| 8 | Т4.30.252-1 | Втулка | |
| 9 | Шайба20.01.016 | Шайба 20.01.016 ГОСТ 11371-78 | |
| 10 | Шайба20ОТ65Г096 | Шайба 20ОТ 65Г 096 ГОСТ 6402-70 | |
| 11 | Болт4М20х1,5-6gх60.88.016 | Болт 4М20х1,5-6gх60.88.016 ГОСТ 7796-70 | |
| 12 | МТ4.30.008 | Лист съемный | |
| 13 | МО4.45.082 | Винт упора |
Содержащиеся в справочниках-каталогах запасные части и детали не предлагаются к продаже, а носят исключительно информационный характер