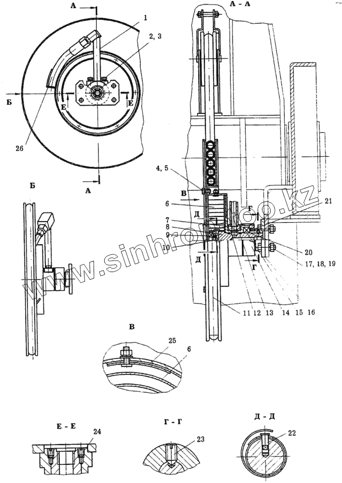
Каталог запасных частей к технике: Автокран КС-6973А. Барабан шланговый КС-6973А.84.530
1
2
3
4
5
6
6
7
8
9
10
11
12
13
14
15
16
17
18
19
20
21
22
23
24
25
26
| Позиция на иллюстрации | Заводской номер детали | Название детали | |
|---|---|---|---|
| 1 | КС-6973А.84.550 | Вентиль | |
| 2 | [Болт М12-8gх35.46.20.019 ГОСТ7798-70] | Болт М12-8gх35.46.20.019 ГОСТ7798-70 | |
| 3 | [Шайба 12.65Г.019 ГОСТ8402-70] | Шайба 12.65Г.019 ГОСТ8402-70 | |
| 4 | [Болт М8-8gх20.48.20.019 ГОСТ7798-70] | Болт М8-8gх20.48.20.019 ГОСТ7798-70 | |
| 5 | [Шайба 8.65Г.019 ГОСТ8402-70] | Шайба 8.65Г.019 ГОСТ8402-70 | |
| 6 | КС-6973А.84.531 | Пружина | |
| 7 | КС-6973А.84.570 | Корпус | |
| 8 | КС-8973А.84.532 | Ось | |
| 9 | 60204 | Подшипник ГОСТ7242-81 | |
| 10 | КС-6973А.84.541 | Винт | |
| 11 | КС-6973А.84.590 | Барабан | |
| 12 | [Кольцо 021-025-25-2-2 ГОСТ9833-73] | Кольцо 021-025-25-2-2 ГОСТ9833-73 | |
| 13 | КС-6973А.84.537 | Шайба | |
| 14 | КС-6973А.84.533 | Гайка | |
| 15 | 60207 | Подшипник ГОСТ7242-81 | |
| 16 | КС-6973А.84.560 | Кронштейн | |
| 17 | [Болт М10-8gх30.46.20.019 ГОСТ7798-70] | Болт М10-8gх30.46.20.019 ГОСТ7798-70 | |
| 18 | [Гайка М10-7Н.5.019 ГОСТ5915-70] | Гайка М10-7Н.5.019 ГОСТ5915-70 | |
| 19 | [Шайба 10.65Г.019 ГОСТ6402-70] | Шайба 10.65Г.019 ГОСТ6402-70 | |
| 20 | [Кольцо 030-035-30-2-2 ГОСТ9833-73] | Кольцо 030-035-30-2-2 ГОСТ9833-73 | |
| 21 | [Манжета 1.1-50х70-1 ГОСТ8752-79] | Манжета 1.1-50х70-1 ГОСТ8752-79 | |
| 22 | КС-6973А.84.542 | Палец | |
| 23 | [Винт В.M6-8gх14.14Н.019 ГОСТ1477-84] | Винт В.M6-8gх14.14Н.019 ГОСТ1477-84 | |
| 24 | [Винт В.M6-8gх10.14H.019 ГОСТ1477-84] | Винт В.M6-8gх10.14H.019 ГОСТ1477-84 | |
| 25 | КС-6973А.84.536 | Пластина | |
| 26 | [Рукав РВД 12-21-9000] | Рукав РВД 12-21-9000 |
Содержащиеся в справочниках-каталогах запасные части и детали не предлагаются к продаже, а носят исключительно информационный характер