Каталог запасных частей к технике: Автокран КС-45717К-1 (вариант). Гидрораспределитель
1
2
2
2
3
3
3
4
4
4
5
6
7
8
9
10
10
11
12
12
13
13
14
15
15
16
17
17
18
19
20
20
21
22
23
24
25
26
27
28
29
29
30
31
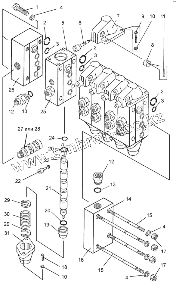
| Позиция на иллюстрации | Заводской номер детали | Название детали | |
|---|---|---|---|
| 1 | ГОСТ 7798-70 | Болт М12х45 | |
| 2 | 014-018-25-2-2 | Кольцо ГОСТ9833-73 (d1=3,6) | |
| 3 | 021-025-25-2-2 | Кольцо ГОСТ9833-73 (d=20,5) | |
| 4 | 10.65Г.019 | Шайба | |
| 5 | У3.30.20.001-2 | Корпус рабочей секции | |
| 6 | У3.30.20.020-2 | Рычаг | |
| 7 | У3.30.20.003-2 | Крышка | |
| 8 | У3.19.20.006 | Ось | |
| 9 | В.М6-8g60.46.019 | Винт | |
| 10 | 6.65Г.019 | Шайба | |
| 11 | У3.19.20.007 | Штифт | |
| 12 | У3.30.20.011-2 | Пробка | |
| 13 | 007-010-19-2-2 | Кольцо | |
| 14 | У3.30.10.000-2 | Секция напорная | |
| 15 | У3.30.00.002-2-01 | Шпилька | |
| 16 | У3.30.10.001-2 | Корпус | |
| 17 | М10-7Н.5.019 | Гайка | |
| 18 | В.M6-8gx16.46.019 | Винт | |
| 19 | У3.30.20.007-2 | Втулка | |
| 20 | 020-025-30-2-2 | Кольцо ГОСТ9833-73 (d=19,5) | |
| 21 | У3.30.20.013-2 | Золотник | |
| 22 | У3.30.20.006-2 | Рычаг | |
| 23 | У3.30.20.005-2 | Ось | |
| 24 | 008-012-25-2-2 | Кольцо ГОСТ9833-73 (d=7,7) | |
| 25 | У3.30.20.000-2 | Секция рабочая | |
| 26 | У3.30.00.001-2 | Крышка | |
| 27 | 510.20.03А | Гидроклапан предохранительный | |
| 28 | КПР20-250-40-РС | Гидроклапан предохранительный | |
| 29 | У3.30.20.014-2 | Шайба | |
| 30 | У3.30.20.008-2 | Пружина | |
| 31 | У3.30.20.004-2 | Крышка |
Содержащиеся в справочниках-каталогах запасные части и детали не предлагаются к продаже, а носят исключительно информационный характер