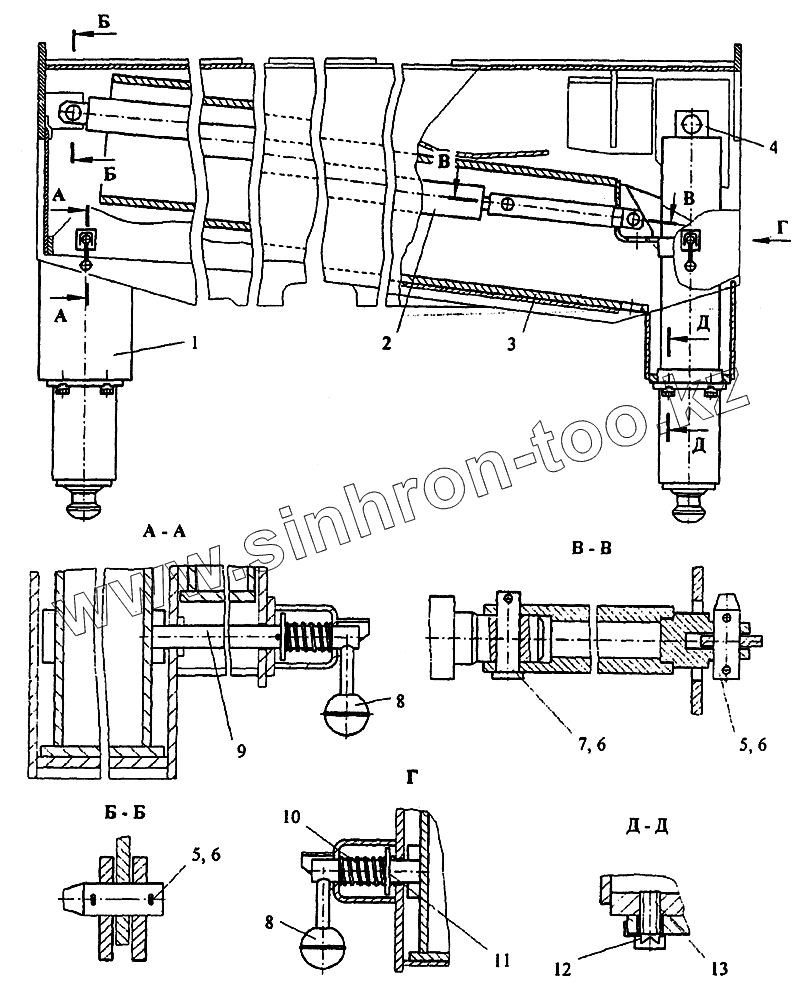
Каталог запасных частей к технике: Автокран КС-45717К-1. Установка выносных опор
1
2
3
4
5
5
6
6
6
7
8
8
9
10
11
12
13
| Позиция на иллюстрации | Заводской номер детали | Название детали | |
|---|---|---|---|
| 1 | КС-45717.31.200-2 | Гидроопора | |
| 2 | КС-45717.31.300-1 | Гидроцилиндр | |
| 3 | КС-45717.31.500-1 | Опора | |
| 4 | КС-45717.31.400 | Гидрозамок | |
| 5 | КС-45717.31.001 | Ось | |
| 6 | 4x32.016 ГОСТ 397-79 | Шплинт | |
| 7 | 20-8612х60.20.Ц9хр. ГОСТ 9650-80 | Ось | |
| 8 | У2.33.63.035-01 | Ручка шаровая | |
| 9 | КС-45717.31.080 | Фиксатор | |
| 10 | КС-35714.31.002 | Пружина | |
| 11 | 24.02.ст3пс.019 ГОСТ 11371-78 | Шайба | |
| 12 | 8.01.08кп.019 ГОСТ 11371-78 | Шайба | |
| 13 | M8-8gx16.046.20.019 ГОСТ 7798-70 | Болт |
Содержащиеся в справочниках-каталогах запасные части и детали не предлагаются к продаже, а носят исключительно информационный характер