Вернуться на главную
Поиск
Каталоги запчастей к технике
Спецтехника
Автокран
КС-45717К-1
Подвеска крюковая
Каталог запасных частей к технике: Автокран КС-45717К-1. Подвеска крюковая
zoom-in
zoom-out
enlarge
shrink
circle-right
circle-left
file-text2
info
cart
Тип техники
Не выбрано
Легковые автомобили
Грузовые автомобили и прицепы
Автобусы
Сельхозтехника
Спецтехника
Двигатели
Мототехника
Марка
Не выбрано
Ammann
BOMAG
CARMIX
CASE IH
Changlin
ChengGong
Dimex
Doosan
DYNAPAC
Foton
HAMM
Hidromek
Hitachi
Hyundai
JCB
JLG
John Deere
Komatsu
LIEBHERR
LiuGong
Lonking (LongGong)
Luneng
MANITOU
Mitsuber
New Holland
PENGPU
RM-Terex
SANY
SDLG
SEM
Shantui
Shehwa HBXG
Soosan
TIGARBO
VOGELE
Volvo
WAY
WIRTGEN
XCMG
XGMA
Xiamen
YTO
Yuchai
Zoomlion
Автокран
АЗСМ
Алтайлесмаш
Амкодор
АОМЗ
Атек
АТЗ
Балканкар Рекорд
БелАЗ
Беловеж
Борекс
Брянский Арсенал
Булат
ВЭКС
ГАЗ
Геомаш
Гидромаш
Донекс
Дормаш
Дормашина
Дорэлектромаш
ДЭЗ
ЕлАЗ
ЗЗГТ
Ижнефтемаш
Канаш-электрокар
КЗКТ
ККЗ
Клевер
Клинцовский автокрановый завод
КМЗ
КМЗ 1 Мая
Ковровец
Коммаш
Кранэкс
КЭЗ
КЭМЗ
ЛЗА
МАЗ
МЗИК
МЗКМ
МЗКТ
Михневский РМЗ
МоАЗ
Мозырский МЗ
МТЗ
ОЗП
Онежец
ПАО "ТЗА"
ППС Детва
Промтрактор
ПТЗ
Раскат
СпецАгрегат
ТВЭКС
ТТМ
УВЗ
Угличмаш
УЗТМ
ХТЗ
ЧЗКМ
ЧСДМ
ЧТЗ
ЭКСКО
ЭКСМАШ
ЮрМаш
Модель
Не выбрано
КС-3571 (2002)
КС-35714 (2002)
КС-35715 (2002)
КС-3574 (2002)
КС-3576 (2002)
КС-3577 (2003)
КС-4562
КС-45717К-1
КС-45717К-1 (вариант) (2010)
КС-6973А (2002)
Схема
>
Не выбрано
Установка кабины
Установка отопителя
Кран автомобильный
Установка телескопической стрелы
Стрела телескопическая
Стрела телескопическая
Стрела телескопическая
Подвеска крюковая
Стойка поддержки стрелы
Установка гуська
Подвеска крюковая
Ограничитель подъема стрелы
Установка креномера
Рама поворотная с механизмами
Механизм поворота
Лебедка
Установка прижимного ролика
Установка противовеса
Приводы управления крановыми операциями
Установка опоры поворотной
Кожух
Установка опорной рамы с меанизмами
Установка выносных опор
Установка подпятника
Пневмоборудование шасси
Гидрооборудование неповоротной части
Гидрооборудование опорной рамы
Гидрооборудование опорной рамы
Гидрооборудование опорной рамы
Гидрораспределитель
Гидроцилиндр
Гидропора
Гидрзамок
Кран двухпозиционный
Соединение вращающееся
Насос ручной
Клапан запорный
Гидрооборудование поворотной части
Гидрооборудование поворотной части
Гидрооборудование поворотной части
Гидрооборудование поворотной части
Гидрооборудование поворотной части
Гидрораспределитель
Гидроцилиндр
Гидроцилиндр
Размыкатель тормоза (механизм поворота)
Размыкатель тормоза (лебедки)
Клапан обратный управляемый
Гидроблок уравновешивания
Блок клапанный
Гидроклапан предохранительный
Кран затяжки крюка
Привод насоса
Привод управления двигателем
Электрооборудование
Ограничитель высоты подъема
Установка приборов безопасности
Щиток приборов
Токосъемник
Инструмент и принадлежности
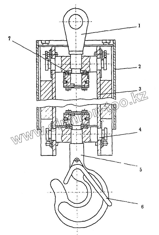
1
2
3
4
5
6
7
Позиция на иллюстрации
Заводской номер детали
Название детали
1
КС-3577А.66.330
Тяга
2
КС-3577А.66.340
Кожух
3
КС-3577А.66.320
Щека
4
КС-4572.62.356
Траверса
5
КС-4572.62.353
Крюк
6
10-2/1 ГОСТ 12840-80
Скоба
7
8107 ГОСТ 6874-75
Подшипник
Содержащиеся в справочниках-каталогах запасные части и детали не предлагаются к продаже, а носят исключительно информационный характер
Дополнительная информация
×
Название:
Номер:
Примечание: