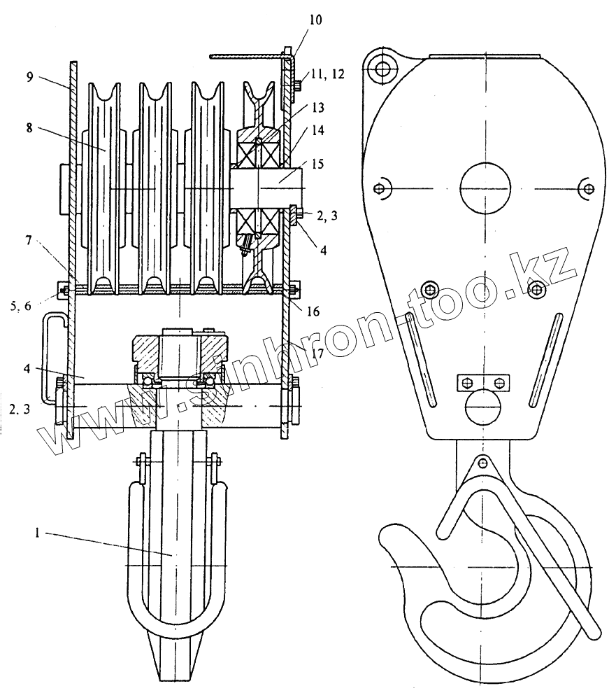
Каталог запасных частей к технике: Автокран КС-45717К-1. Подвеска крюковая
1
2
2
3
3
4
4
5
6
7
8
9
10
11
12
13
14
15
16
17
| Позиция на иллюстрации | Заводской номер детали | Название детали | |
|---|---|---|---|
| 1 | КС-45717.61.350 | Крюк | |
| 2 | M16-8gx30.46.20.019 ГОСТ 7798--70 | Болт | |
| 3 | 16.65Г.019 ГОСТ 6402-70 | Шайба | |
| 4 | У2.52.63.054-03 | Оседержатель | |
| 5 | М12-9Н.5.019 ГОСТ 5915-70 | Гайка | |
| 6 | 12.65Г.019 ГОСТ 6402-70 | Шайба | |
| 7 | КС-45717.63.301 | Ось | |
| 8 | У2.48.63.050-03 | Блок | |
| 9 | КС-45717.63.320-1 | Щека | |
| 10 | КС-35714-2.63.302 | Уголок | |
| 11 | M12-8gx25.46.20.019 ГОСТ 7798-70 | Болт | |
| 12 | 12.65Г.019 ГОСТ 6402-70 | Шайба | |
| 13 | КС-35714-2.63.303 | Втулка | |
| 14 | КС-45717.64.301 | Втулка | |
| 15 | КС-45717.64.303 | Ось | |
| 16 | КС-45717.63.305 | Труба | |
| 17 | КС-45717.64.320-1-01 | Щека |
Содержащиеся в справочниках-каталогах запасные части и детали не предлагаются к продаже, а носят исключительно информационный характер