Каталог запасных частей к технике: Автокран КС-45717К-1. Гидрооборудование поворотной части
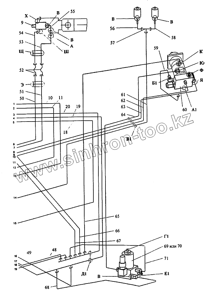
9
10
11
18
19
20
48
49
50
51
52
53
54
55
56
57
58
59
60
61
62
63
64
65
66
67
68
69
70
71
| Позиция на иллюстрации | Заводской номер детали | Название детали | |
|---|---|---|---|
| 9 | КС-3577.84.700-1 | Клапан обратный управляемый | |
| 10 | КС-45717.84.200-07 | Труба в сборе | |
| 11 | КС-45717.84.200-06 | Труба в сборе | |
| 18 | КС-45717.84.150 | Труба в сборе | |
| 19 | КС-4571784.140 | Труба в сборе | |
| 20 | КС-45717.84.130 | Труба в сборе | |
| 48 | КС-45717.84.320-11 | Труба в сборе | |
| 49 | КС-45717.84.320-02 | Труба в сборе | |
| 50 | КС-45717.84.260-02 | Труба в сборе | |
| 51 | КС-45717.84.260-01 | Труба в сборе | |
| 52 | РВД 20-23-850 Т1 | Рукав | |
| 53 | КС-45717.84.930-01 | Труба в сборе | |
| 54 | КС-45717.84.930 | Труба в сборе | |
| 55 | КС-45717.84.960 | Труба в сборе | |
| 56 | КС-45717-1.84.010-01 | Труба в сборе | |
| 57 | КС-3577.84.009 | Тройник | |
| 58 | КС-45717-1.84.010-02 | Труба в сборе | |
| 59 | КС-45717.84.320-07 | Труба в сборе | |
| 60 | У3.2010.000-2 | Гидроблок уравновешивания | |
| 61 | КС-45717-1.84.010 | Труба в сборе | |
| 62 | КС-45717.84.210 | Труба в сборе | |
| 63 | КС-45717.84.220 | Труба в сборе | |
| 64 | КС-45717.84.320-04 | Труба в сборе | |
| 65 | КС-45717.84.320-06 | Труба в сборе | |
| 66 | КС-45717.84.320-13 | Труба в сборе | |
| 67 | КС-45717.84.320-12 | Труба в сборе | |
| 68 | КС-45717.84.320-05 | Труба в сборе | |
| 69 | ГР2-3-1-24УХЛ2 | Гидрораспределитель | |
| 70 | У46.90.06.901УХЛ2 | Гидрораспределитель | |
| 71 | КС-45717.84.320-10 | Труба в сборе |
Содержащиеся в справочниках-каталогах запасные части и детали не предлагаются к продаже, а носят исключительно информационный характер