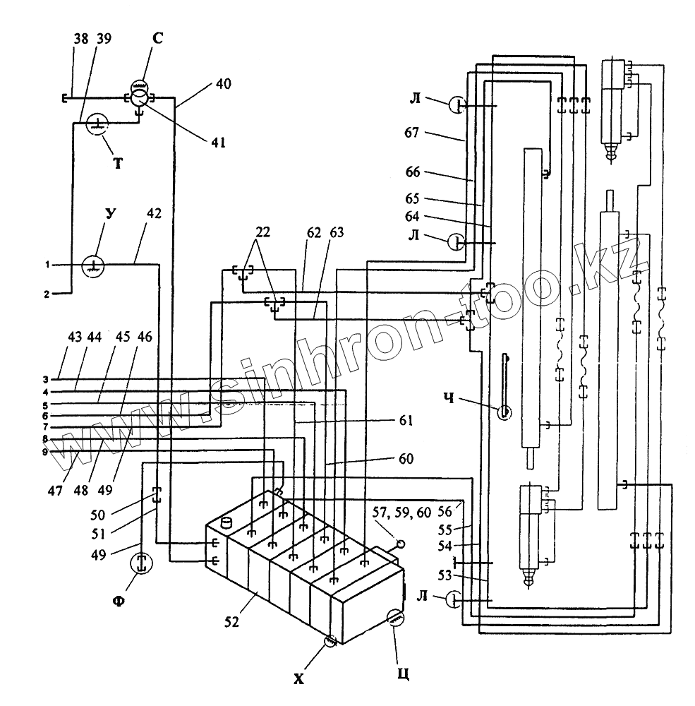
Каталог запасных частей к технике: Автокран КС-45717К-1. Гидрооборудование опорной рамы
22
38
39
40
41
42
43
44
45
46
47
48
49
49
50
51
52
53
54
55
56
57
59
60
60
61
62
63
64
65
66
67
| Позиция на иллюстрации | Заводской номер детали | Название детали | |
|---|---|---|---|
| 22 | КС-3577.84.009 | Тройник | |
| 38 | КС-45717.83.120 | Труба в сборе | |
| 39 | КС-45717.83.120-01 | Труба в сборе | |
| 40 | КС-45717К.83.180 | Труба в сборе | |
| 41 | У034.00.000-11 | Кран двухпозиционный | |
| 42 | КС-45717К.83.190 | Труба в сборе | |
| 43 | КС-45717К.83.200-10 | Труба в сборе | |
| 44 | КС-45717К.83.200-11 | Труба в сборе | |
| 45 | КС-45717К.83.200-12 | Труба в сборе | |
| 46 | КС-45717К.83.200-13 | Труба в сборе | |
| 47 | КС-45717К.83.200-16 | Труба в сборе | |
| 48 | КС-45717К.83.200-15 | Труба в сборе | |
| 49 | КС-45717К.83.200-14 | Труба в сборе | |
| 50 | KC-45717K.83.102 | Штуцер | |
| 51 | КС-45717К.83.180-01 | Труба в сборе | |
| 52 | У3.30.00.000-2-01 | Гидрораспределитель | |
| 53 | КС-45717К.83.200-28 | Труба в сборе | |
| 54 | КС-45717К.83.200-27 | Труба в сборе | |
| 55 | КС-45717К.83.200-26 | Труба в сборе | |
| 56 | КС-45717К.83.200-25 | Труба в сборе | |
| 57 | КС-45717.83.104 | Рукоятка | |
| 58 | У2.33.63.035 | Ручка шаровая | |
| 59 | М10-7Н.5.019 ГОСТ 5915-70 | Гайка | |
| 60 | КС-45717К.83.200-24 | Труба в сборе | |
| 61 | КС-45717К.83.200-23 | Труба в сборе | |
| 62 | КС-45717К.83.200-17 | Труба в сборе | |
| 63 | КС-45717К.83.200-18 | Труба в сборе | |
| 64 | КС-45717К.83.200-22 | Труба в сборе | |
| 65 | КС-45717К.83.200-21 | Труба в сборе | |
| 66 | КС-45717К.83.200-20 | Труба в сборе | |
| 67 | КС-45717К.83.200-19 | Труба в сборе |
Содержащиеся в справочниках-каталогах запасные части и детали не предлагаются к продаже, а носят исключительно информационный характер