Каталог запасных частей к технике: Автокран КС-45717К-1. Гидрооборудование неповоротной части
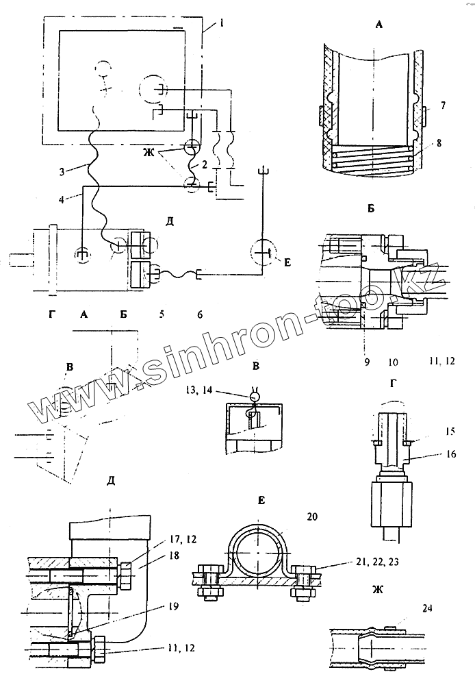
1
2
3
4
5
6
7
8
9
10
11
11
12
12
12
13
14
15
16
17
18
19
20
21
22
23
24
| Позиция на иллюстрации | Заводской номер детали | Название детали | |
|---|---|---|---|
| 1 | КС-45717К.83.100 | Гидрооборудование опорной рамы | |
| 2 | КС-45717-1.83.002 | Рукав 12x20-1,6 ГОСТ 10362-76 | |
| 3 | КС-45717К.83.001 | Рукав 65x77,5-0,3 ГОСТ 10362-76 | |
| 4 | КС-35715.83.110 | Труба в сборе | |
| 5 | РВД-25-25-580-У | Рукав | |
| 6 | КС-45717К.83.010 | Труба в сборе | |
| 7 | КС-3574.83.120-01 | Хомут | |
| 8 | КС-3571583.006 | Спираль | |
| 9 | 036-044-46-2-2 ГОСТ 9833-73 | Кольцо | |
| 10 | КС-3577.83.042 | Фланец | |
| 11 | M12-8gx35.46.20.019 ГОСТ 7798-70 | Болт | |
| 12 | 12.65Г.019 ГОСТ 6402-70 | Шайба | |
| 13 | 1-6х10АД1М ГОСТ 18677-73 | Пломба | |
| 14 | КС 0.8 ГОСТ 792-67 | Проволока | |
| 15 | КС-3577.83.043 | Шайба | |
| 16 | КС-3577.83606 | Штуцер | |
| 17 | КС-3577.83.011 | Болт | |
| 18 | КС-45717К.83.040 | Угольник | |
| 19 | 047-055-46-2-2 ГОСТ 9833-73 | Кольцо | |
| 20 | У3.04.83.004 | Скоба | |
| 21 | М8-8gх20.46.20.019 ГОСТ 7798-70 | Болт | |
| 22 | М8-7Н.5.019 ГОСТ5915-70 | Гайка | |
| 23 | 8.65Г.019 ГОСТ 6402-70 | Шайба | |
| 24 | КС-3577.83.160 | Хомут |
Содержащиеся в справочниках-каталогах запасные части и детали не предлагаются к продаже, а носят исключительно информационный характер