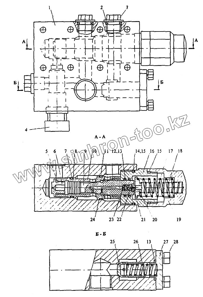
Каталог запасных частей к технике: Автокран КС-45717К-1. Гидроблок уравновешивания
1
2
3
4
5
6
7
8
9
10
11
12
13
13
14
15
15
16
17
18
19
20
21
22
23
24
25
26
27
28
| Позиция на иллюстрации | Заводской номер детали | Название детали | |
|---|---|---|---|
| 1 | У3.20.10.001-2 | Корпус | |
| 2 | 021-025-25-2-2 ГОСТ 9833-73 | Кольцо | |
| 3 | У061.00.008-1 | Пробка | |
| 4 | КП 20-250-40-ОС | Гидроклапан предохранительный | |
| 5 | 025-028-30-2-2 ГОСТ 9833-73 | Кольцо | |
| 6 | У3.20.10.102 | Втулка | |
| 7 | У3.20.10.117 | Кольцо | |
| 8 | 030-035-30-2-2 ГОСТ 9833-73 | Кольцо | |
| 9 | У3.20.10.104 | Золотник | |
| 10 | У3.20.10.103 | Гильза | |
| 11 | 038-042-30-2-2 ГОСТ 9833-73 | Кольцо | |
| 12 | У3.20.10.121 | Кольцо | |
| 13 | 028-032-25-2-2 ГОСТ 9833-73 | Кольцо | |
| 14 | У3.20.10.119 | Кольцо | |
| 15 | 045-050-30-2-2 ГОСТ 9833-73 | Кольцо | |
| 16 | У3.20.10.109 | Проставка | |
| 17 | У3.20.10.112 | Пружина | |
| 18 | У3.20.10.113 | Пружина | |
| 19 | У3.20.10.114 | Пробка | |
| 20 | У3.20.10.108 | Тарелка | |
| 21 | У3.20.10.107 | Упор | |
| 22 | У3.20.10.101 | Пружина | |
| 23 | У3.20.10.106 | Клапан | |
| 24 | У3.20.10.118 | Кольцо | |
| 25 | У061.10.003-1 | Клапан | |
| 26 | У061.10.004 | Пружина | |
| 27 | У3.20.10.003-2 | Фланец | |
| 28 | M10-8gx30.46.20.019 ГОСТ 7798-70 | Болт |
Содержащиеся в справочниках-каталогах запасные части и детали не предлагаются к продаже, а носят исключительно информационный характер