Каталог запасных частей к технике: Автокран КС-3577. Установка ограничителя грузоподъемности КС-3577.81.700
1
2
3
4
5
6
7
8
8
9
9
10
10
11
11
11
11
11
12
12
13
14
15
15
16
16
17
18
19
19
20
20
21
22
23
24
25
25
26
27
28
29
30
30
31
32
33
33
34
35
36
37
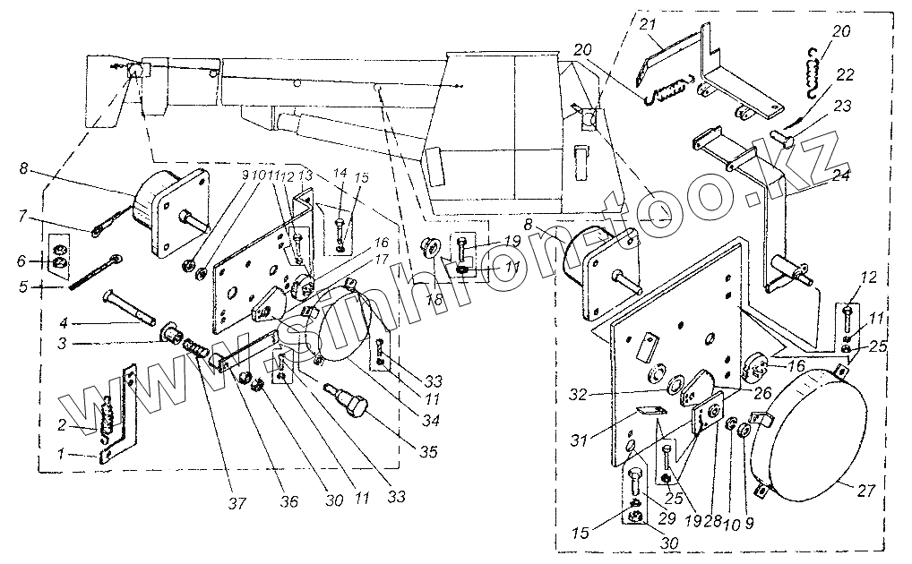
| Позиция на иллюстрации | Заводской номер детали | Название детали | |
|---|---|---|---|
| 1 | КС-3577.81.803 | Кронштейн | |
| 2 | КС-3577.81.807 | Пружина | |
| 3 | КС-3577.80.702 | Ролик | |
| 4 | КС-3577.81.841 | Ось | |
| 5 | КС-3577.80.712 | Винт | |
| 6 | [Гайка М6.5.019 ГОСТ5915-70] | Гайка М6.5.019 ГОСТ5915-70 | |
| 7 | КС-3577.80.730 | Струна | |
| 8 | [Датчик 13090] | Датчик 13090 | |
| 9 | [Гайка М10.5.029 ГОСТ5915-70] | Гайка М10.5.029 ГОСТ5915-70 | |
| 10 | [Шайба 10.65Г.019 ГОСТ6402-70] | Шайба 10.65Г.019 ГОСТ6402-70 | |
| 11 | [Шайба 5.65Г.019 ГОСТ6402-70] | Шайба 5.65Г.019 ГОСТ6402-70 | |
| 12 | [Болт М6х20.46.019 ГОСТ7798-70] | Болт М6х20.46.019 ГОСТ7798-70 | |
| 13 | КС-3577.81.8170 | Кронштейн | |
| 14 | [Болт М10х20.46.019 ГОСТ7798-70] | Болт М10х20.46.019 ГОСТ7798-70 | |
| 15 | [Шайба 10.65Г.019 ГОСТ6402-70] | Шайба 10.65Г.019 ГОСТ6402-70 | |
| 16 | КС-3577.81.880 | Колесо зубчатое | |
| 17 | КС-3577.81.890 | Сектор | |
| 18 | КС-3577.81.707 | Эксцентрик | |
| 19 | [Болт М6х16.46.019 ГОСТ7798-70] | Болт М6х16.46.019 ГОСТ7798-70 | |
| 20 | КС-3577.72.031 | Пружина | |
| 21 | КС-3577.81.930 | Поводок | |
| 22 | [Шплинт 1,6х10.016 ГОСТ397-79] | Шплинт 1,6х10.016 ГОСТ397-79 | |
| 23 | [Ось 6х20 ГОСТ9650-80] | Ось 6х20 ГОСТ9650-80 | |
| 24 | КС-3577.81.920 | Привод | |
| 25 | [Гайка М6.5.019 ГОСТ5915-70] | Гайка М6.5.019 ГОСТ5915-70 | |
| 26 | КС-3577.81.802 | Сектор | |
| 27 | КС-3577.81.950 | Кожух | |
| 28 | КС-3577.81.940 | Сегмент | |
| 29 | [Болт М10х25.46.019 ГОСТ7798-70] | Болт М10х25.46.019 ГОСТ7798-70 | |
| 30 | [Гайка М10.5.019 ГОСТ5915-70] | Гайка М10.5.019 ГОСТ5915-70 | |
| 31 | КС-3577.81.910 | Плато | |
| 32 | [Шайба 16.01.019 ГОСТ11371-78] | Шайба 16.01.019 ГОСТ11371-78 | |
| 33 | [Винт М5х16.019 ГОСТ17473-80] | Винт М5х16.019 ГОСТ17473-80 | |
| 34 | КС-3577.81.830 | Кожух | |
| 35 | КС-3577.81.806 | Ось | |
| 36 | КС-3577.81.850 | Водило | |
| 37 | КС-3577.81.842 | Пружина |
Содержащиеся в справочниках-каталогах запасные части и детали не предлагаются к продаже, а носят исключительно информационный характер