Каталог запасных частей к технике: Автокран КС-3577. Привод насоса КС-3577.14.000
1
2
3
4
5
6
7
8
9
10
11
12
13
13
13
13
14
15
16
17
18
19
20
21
22
23
23
23
24
24
24
25
26
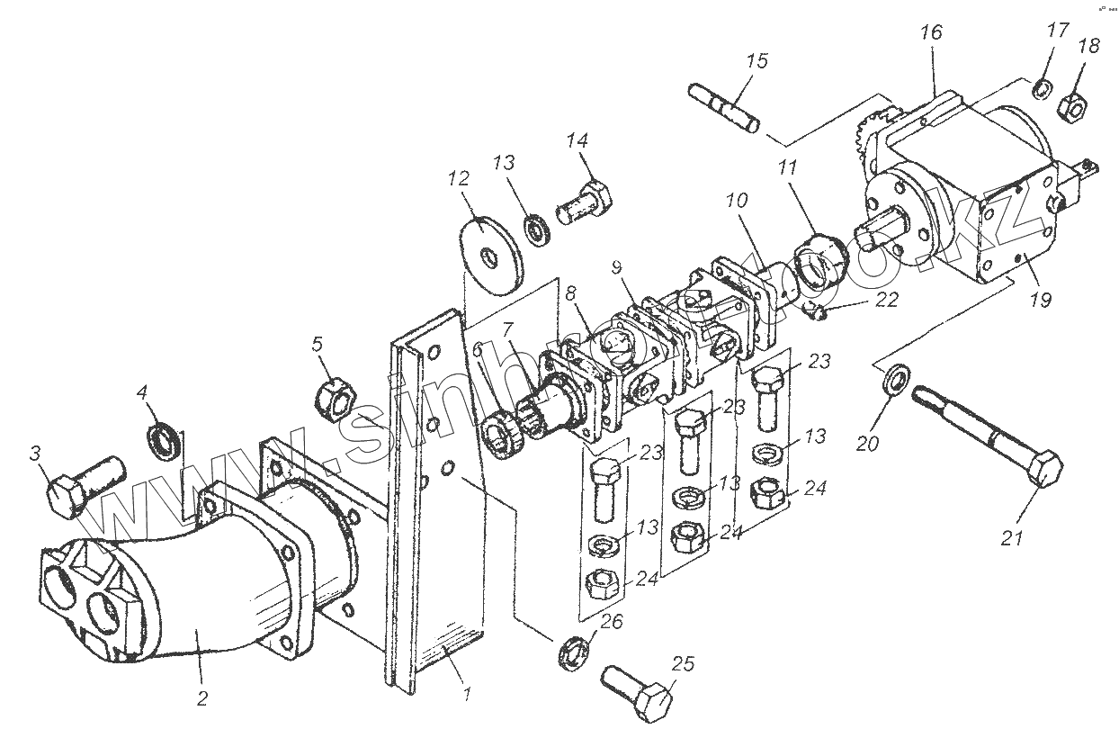
| Позиция на иллюстрации | Заводской номер детали | Название детали | |
|---|---|---|---|
| 1 | КС-3577.14.040 | Кронштейн | |
| 2 | [Гидромотор 310.112-00] | Гидромотор 310.112-00 | |
| 3 | [Болт 1,116х50.46.019 ГОСТ7798-70] | Болт 1,116х50.46.019 ГОСТ7798-70 | |
| 4 | [Шайба 16.65Г ГОСТ6402-70] | Шайба 16.65Г ГОСТ6402-70 | |
| 5 | [Гайка М14 ГОСТ5915-70] | Гайка М14 ГОСТ5915-70 | |
| 6 | КС-3577.14.026 | Кольцо | |
| 7 | КС-3577.14.027 | Фланец | |
| 8 | КС-3577.14.070 | Кардан | |
| 9 | КС-3577.14.028 | Пластина | |
| 10 | КС-3577.14.033 | Фланец | |
| 11 | КС-3577.14.034 | Муфта защитная | |
| 12 | КС-3577.26.016 | Шайба | |
| 13 | [Шайба 12.65Г ГОСТ6402-70] | Шайба 12.65Г ГОСТ6402-70 | |
| 14 | [Болт М12х25.46.019 ГОСТ7798-70] | Болт М12х25.46.019 ГОСТ7798-70 | |
| 15 | [Шпилька 10х50.03.019] | Шпилька 10х50.03.019 | |
| 16 | КС-3577.14.032 | Прокладка | |
| 17 | [Шайба 10.65Г ГОСТ6402-70] | Шайба 10.65Г ГОСТ6402-70 | |
| 18 | [Гайка М10.5.019 ГОСТ5915-70] | Гайка М10.5.019 ГОСТ5915-70 | |
| 19 | КС-3577.14.100 | Коробка отбора мощности | |
| 20 | КС-3577.14.031 | Шайба | |
| 21 | КС-3577.14.029 | Болт специальный | |
| 22 | [Масленка 1.2.Ц6хр ГОСТ19853-74] | Масленка 1.2.Ц6хр ГОСТ19853-74 | |
| 23 | [Болт М12х1,25х40.46.019 ГОСТ7796-70] | Болт М12х1,25х40.46.019 ГОСТ7796-70 | |
| 24 | [Гайка М12х1,25.5.019 ГОСТ5915-70] | Гайка М12х1,25.5.019 ГОСТ5915-70 | |
| 25 | [Шайба 14.65Г ГОСТ6402-70] | Шайба 14.65Г ГОСТ6402-70 | |
| 26 | [Болт М14х45.46.019 ГОСТ7798-70] | Болт М14х45.46.019 ГОСТ7798-70 |
Содержащиеся в справочниках-каталогах запасные части и детали не предлагаются к продаже, а носят исключительно информационный характер