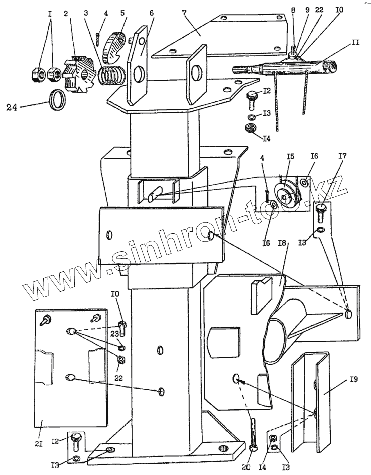
Каталог запасных частей к технике: Автокран КС-35714. Установка запасного колеса КС-3574.90.000
1
2
3
4
4
5
6
7
8
9
10
10
11
12
12
13
13
13
13
14
14
15
16
16
17
18
19
20
21
22
22
23
24
| Позиция на иллюстрации | Заводской номер детали | Название детали | |
|---|---|---|---|
| [Запасное колесо] | [Запасное колесо] | Запасное колесо | |
| 1 | [Гайка М24-7Н.5.019 ГОСТ5915-70] | Гайка М24-7Н.5.019 ГОСТ5915-70 | |
| 2 | КС-3574.90.002 | Храповик | |
| 3 | КС-3574.30.001 | Пружина | |
| 4 | [Шплинт 4x32.016 ГОСТ397-79] | Шплинт 4x32.016 ГОСТ397-79 | |
| 5 | КС-3574.90.050 | Собачка | |
| 6 | КС-3574.90.020 | Стойка | |
| 7 | КС-3574.90.003 | Кронштейн | |
| 8 | [Канат 3,3-Г-1-Н-1770 ГОСТ3070-88 (L=1200м)] | Канат 3,3-Г-1-Н-1770 ГОСТ3070-88 (L=1200м) | |
| 9 | КС-3577.80.406 | Муфта | |
| 10 | [Болт М8-8gх20.46.20.019 ГОСТ7798-70] | Болт М8-8gх20.46.20.019 ГОСТ7798-70 | |
| 11 | КС-3574.90.001 | Вороток | |
| 12 | [Болт М16-8gх35.46.20.019 ГОСТ7798-70] | Болт М16-8gх35.46.20.019 ГОСТ7798-70 | |
| 13 | [Шайба 16.65Г.019 ГОСТ6402-70] | Шайба 16.65Г.019 ГОСТ6402-70 | |
| 14 | [Гайка М16-7Н.5.019 ГОСТ5915-78] | Гайка М16-7Н.5.019 ГОСТ5915-78 | |
| 15 | КС-3577.72.027 | Ролик | |
| 16 | [Шайба 20.02.Ст3пс.019 ГОСТ11371-78] | Шайба 20.02.Ст3пс.019 ГОСТ11371-78 | |
| 17 | [Болт М16-8gх30.46.20.019 ГОСТ7798-70] | Болт М16-8gх30.46.20.019 ГОСТ7798-70 | |
| 18 | КС-3574.90.010 | Кронштейн | |
| 19 | КС-3574.90.006 | Планка | |
| 20 | [Болт М16-8gх80.46.20.019 ГОСТ7798-70] | Болт М16-8gх80.46.20.019 ГОСТ7798-70 | |
| 21 | КС-3574.90.040 | Кронштейн | |
| 22 | [Гайка М8-7Н.5.019 ГОСТ5915-78] | Гайка М8-7Н.5.019 ГОСТ5915-78 | |
| 23 | [Шайба 8.65Г.019 ГОСТ6402-70] | Шайба 8.65Г.019 ГОСТ6402-70 | |
| 24 | [Шайба 27.02.Ст3пс.019 ГОСТ11371-78] | Шайба 27.02.Ст3пс.019 ГОСТ11371-78 |
Содержащиеся в справочниках-каталогах запасные части и детали не предлагаются к продаже, а носят исключительно информационный характер