Каталог запасных частей к технике: Автокран КС-35714. Насос ручной КС-45717.83.700-1
1
2
2
3
3
4
5
6
7
8
9
10
11
11
12
13
14
15
16
17
18
19
20
21
22
23
24
25
26
26
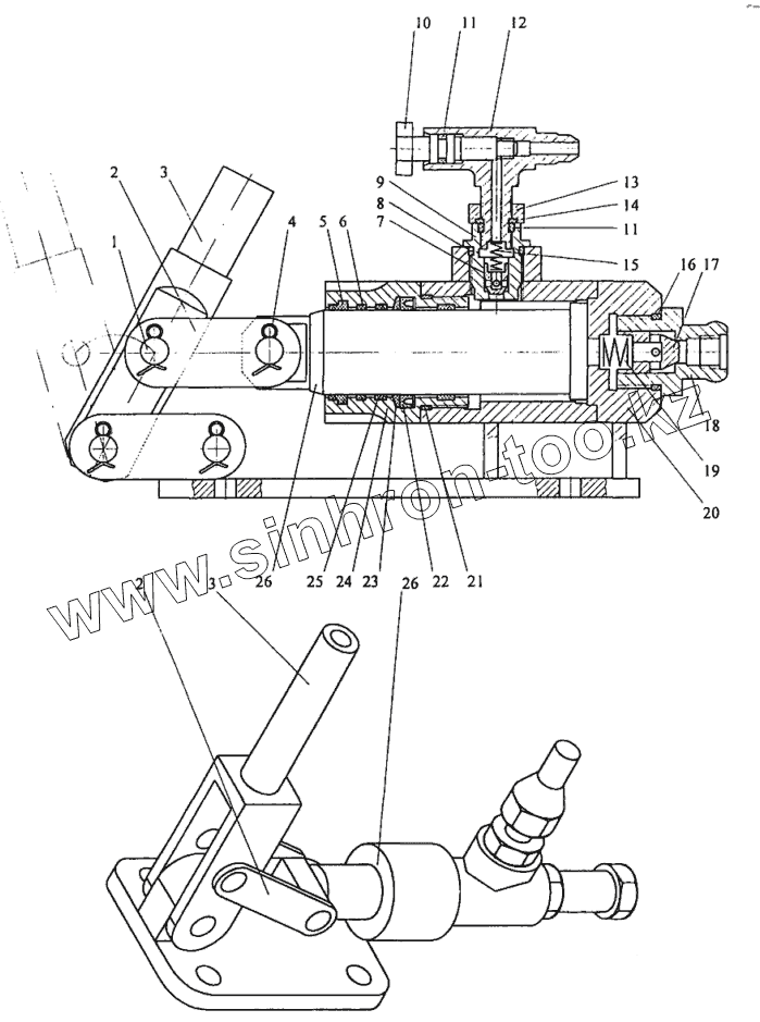
| Позиция на иллюстрации | Заводской номер детали | Название детали | |
|---|---|---|---|
| 1 | КС-45717.83.712-1 | Ось | |
| 2 | КС-45717.83.708-1 | Серьга | |
| 3 | КС-45717.83.751-1 | Палец | |
| 4 | [Шплинт 3,2x20.016 ГОСТ397-79] | Шплинт 3,2x20.016 ГОСТ397-79 | |
| 5 | [Грязесъемник 2-40 ГОСТ24811-81] | Грязесъемник 2-40 ГОСТ24811-81 | |
| 6 | [Кольцо 040-045-30-2-2 ГОСТ9833-73] | Кольцо 040-045-30-2-2 ГОСТ9833-73 | |
| 7 | КС-45717.83.706-1 | Клапан | |
| 8 | [Кольцо 021-025-25-2-2 ГОСТ9833-73] | Кольцо 021-025-25-2-2 ГОСТ9833-73 | |
| 9 | КС-45717.83.705-1 | Штуцер | |
| 10 | КС-3577.84.295 | Игла | |
| 11 | [Кольцо 011-015-25-2-2 ГОСТ9833-73] | Кольцо 011-015-25-2-2 ГОСТ9833-73 | |
| 12 | КС-45717.83.704-1 | Корпус | |
| 13 | КС-3577.83.008 | Гайка | |
| 14 | КС-3577.83.009 | Шайба | |
| 15 | У3.20.10.101 | Пружина | |
| 16 | [Кольцо 030-035-30-2-2 ГОСТ9833-73] | Кольцо 030-035-30-2-2 ГОСТ9833-73 | |
| 17 | КС-3577.83.202 | Клапан | |
| 18 | КС-45717.83.711-1 | Штуцер | |
| 19 | КС-45717.83.707-1 | Пружина | |
| 20 | КС-45717.83.720-1 | Основание | |
| 21 | [Кольцо 050-055-30-2-2 ГОСТ9833-73] | Кольцо 050-055-30-2-2 ГОСТ9833-73 | |
| 22 | [Манжета 1-50x40-6 ГОСТ14896-84] | Манжета 1-50x40-6 ГОСТ14896-84 | |
| 23 | КС-35714.56.064 | Кольцо защитное | |
| 24 | КС-45717.83.702-1 | Втулка направляющая | |
| 25 | КС-45717.83.703-1 | Вкладыш опорный | |
| 26 | КС-45717.83.701-1 | Плунжер |
Содержащиеся в справочниках-каталогах запасные части и детали не предлагаются к продаже, а носят исключительно информационный характер