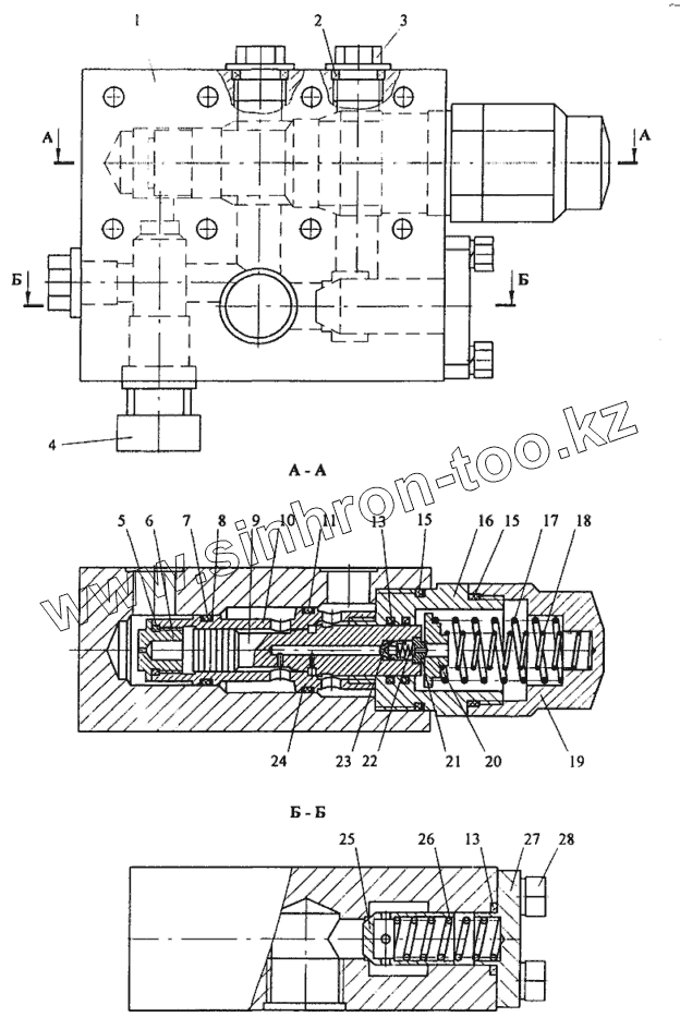
Каталог запасных частей к технике: Автокран КС-35714. Гидроблок уравновешивания У3.20.10.000-2
1
2
3
4
5
6
7
8
9
10
11
13
13
13
13
15
15
15
15
16
17
18
19
20
21
22
23
24
25
26
27
28
| Позиция на иллюстрации | Заводской номер детали | Название детали | |
|---|---|---|---|
| 1 | У3.20.10.001-2 | Корпус | |
| 2 | [Кольцо 021-025-25-2-2 ГОСТ9833-73] | Кольцо 021-025-25-2-2 ГОСТ9833-73 | |
| 3 | У061.00.008-1 | Пробка | |
| 4 | [Гидроклапан предохранительный КП20-250-40-ОС] | Гидроклапан предохранительный КП20-250-40-ОС | |
| 5 | [Кольцо 025-028-30-2-2 ГОСТ9833-73] | Кольцо 025-028-30-2-2 ГОСТ9833-73 | |
| 6 | У3.20.10.102 | Втулка | |
| 7 | У3.20.10.117 | Кольцо | |
| 8 | [Кольцо 030-035-30-2-2 ГОСТ9833-73] | Кольцо 030-035-30-2-2 ГОСТ9833-73 | |
| 9 | У3.20.10.104 | Золотник | |
| 10 | У3.20.10.103 | Гильза | |
| 11 | [Кольцо 038-042-30-2-2 ГОСТ9833-73] | Кольцо 038-042-30-2-2 ГОСТ9833-73 | |
| 13 | У3.20.10.121 | Кольцо | |
| 13 | [Кольцо 028-032-25-2-2 ГОСТ9833-73] | Кольцо 028-032-25-2-2 ГОСТ9833-73 | |
| 15 | [Кольцо 045-050-30-2-2 ГОСТ9833-73] | Кольцо 045-050-30-2-2 ГОСТ9833-73 | |
| 15 | У3.20.10.119 | Кольцо | |
| 16 | У3.20.10.109 | Проставка | |
| 17 | У3.20.10.112 | Пружина | |
| 18 | У3.20.10.113 | Пружина | |
| 19 | У3.20.10.114 | Пробка | |
| 20 | У3.20.10.108 | Тарелка | |
| 21 | У3.20.10.107 | Упор | |
| 22 | У3.20.10.101 | Пружина | |
| 23 | У3.20.10.106 | Клапан | |
| 24 | У3.20.10.118 | Кольцо | |
| 25 | У061.10.003-1 | Клапан | |
| 26 | У061.10.004 | Пружина | |
| 27 | У3.20.10.003-2 | Фланец | |
| 28 | [Болт М10-8gх30.46.20.019 ГОСТ7798-70] | Болт М10-8gх30.46.20.019 ГОСТ7798-70 |
Содержащиеся в справочниках-каталогах запасные части и детали не предлагаются к продаже, а носят исключительно информационный характер