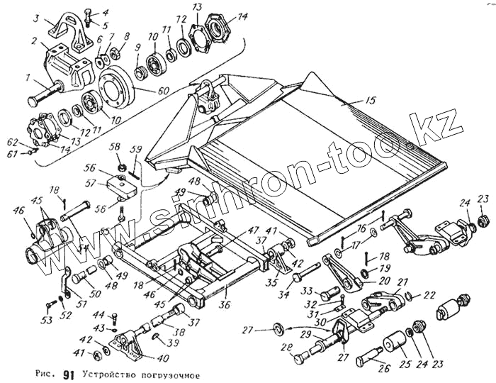
Каталог запасных частей к технике: АТЗ ТТ-4М. Устройство погрузочное
1
2
3
4
5
6
7
8
9
10
11
12
14
15
16
17
18
19
20
21
22
23
24
25
26
27
27
28
29
30
31
32
33
34
35
36
37
38
39
40
41
42
43
44
45
46
47
48
49
50
51
52
53
54
55
56
57
58
59
60
61
62
| Позиция на иллюстрации | Заводской номер детали | Название детали | |
|---|---|---|---|
| 1 | 60-43-284 | Ось блоха | |
| 2 | Т4.56.234 | Скоба блока | |
| 3 | Т4.56.319А | Серьга | |
| 4 | Болт М20-6gх50.88.016 ГОСТ 7796-70 | Болт М20-6gх50.88.016 ГОСТ 7796-70 | |
| 5 | Шайба 20ОТ 65Г 096 ГОСТ 6402-70 | Шайба 20ОТ 65Г 096 ГОСТ 6402-70 | |
| 6 | 60-43-288 | Шайба | |
| 7 | 60-43-289 | Шайба стопорная | |
| 8 | 60-48-032А | Гайка | |
| 9 | 60-43-286 | Втулка распорная | |
| 10 | Подшипник 411 ГОСТ 8338-75 | Подшипник 411 ГОСТ 8338-75 | |
| 11 | 60-43-285 | Втулка | |
| 12 | Манжета 1.1-75х100-1 ГОСТ 8752-79 | Манжета 1.1-75х100-1 ГОСТ 8752-79 | |
| 13 | 60-43-287 | Прокладка | |
| 14 | 60-43-283 | Крышка подшипника | |
| 15 | МТ4.56.011-01 | Щит | |
| 16 | Шплинт 8х56.016 ГОСТ 397-79 | Шплинт 8х56.016 ГОСТ 397-79 | |
| 17 | 54.37.447 | Шайба упорная задняя | |
| 18 | Шплинт 8х90.016 ГОСТ 397-79 | Шплинт 8х90.016 ГОСТ 397-79 | |
| 19 | Т4.56.270-1 | Шайба | |
| 20 | МТ4.56.263 | Рычаг верхний | |
| 21 | Т4.56.029-1А | Рычаг | |
| 22 | МТ4.56.361 | Кольцо | |
| 23 | МТ4.56.151 | Гайка специальная | |
| 24 | ШП-42зам | Шайба пружинная | |
| 25 | МТ4.56.310 | Ролик | |
| 26 | МТ4.56.311 | Ось ролика | |
| 27 | МТ4.56.359 | Втулка | |
| 27 | МТ4.56.358-А | Ограничитель | |
| 28 | Т4.56.277-1 | Стяжка | |
| 29 | МТ4.56.275 | Втулка | |
| 30 | МТ4.56.357 | Опора | |
| 31 | МТ4.56.362 | Пластина стопорная | |
| 32 | 04.38.155-1 | Болт М14х1,5 | |
| 33 | Т4.56.350А-1 | Ось | |
| 34 | Т4.56.343 | Ось | |
| 35 | 60-43-300А | Кронштейн передний правый | |
| 36 | МТ4.56.025-01 | Рамка | |
| 37 | МТ4.56.243 | Втулка | |
| 38 | Т4.56.120 | Ось рамки нижняя | |
| 39 | Шпонка 8х11 ГОСТ 24071-80 | Шпонка 8х11 ГОСТ 24071-80 | |
| 40 | 60-43-301А | Кронштейн передний левый | |
| 41 | Т4.31.153 | Гайка | |
| 42 | Т4.56.240 | Накладка | |
| 43 | Шайба 27 65Г 096 ГОСТ 6402-70 | Шайба 27 65Г 096 ГОСТ 6402-70 | |
| 44 | Т4.39.151-1 | Болт | |
| 45 | Т4.56.121 | Втулка | |
| 46 | Т4.56.104 | Шайба | |
| 47 | Т4.56.278 | Ось | |
| 48 | МТ4.56.252 | Шайба | |
| 49 | МТ4.56.262 | Втулка | |
| 50 | МТ4.56.305 | Ось рамки верхняя | |
| 51 | МТ4.56.315 | Скоба | |
| 52 | Шайба 12ОТ 65Г 096 ГОСТ 6402-70 | Шайба 12ОТ 65Г 096 ГОСТ 6402-70 | |
| 53 | Болт М12-6gх30.88.016 ГОСТ 7796-70 | Болт М12-6gх30.88.016 ГОСТ 7796-70 | |
| 54 | Т4.56.323 | Ось | |
| 55 | Болт 2М12-6gх60.88.016 ГОСТ 7795-70 | Болт 2М12-6gх60.88.016 ГОСТ 7795-70 | |
| 56 | Шайба 12.01.016 ГОСТ 11371-78 | Шайба 12.01.016 ГОСТ 11371-78 | |
| 57 | 12-33-93 | Буфер | |
| 58 | Гайка М12-6Н.6А.016 ГОСТ 5932-73 | Гайка М12-6Н.6А.016 ГОСТ 5932-73 | |
| 59 | Шплинт 3,2х25.016 ГОСТ 397-79 | Шплинт 3,2х25.016 ГОСТ 397-79 | |
| 60 | Т4.56.223А | Блок | |
| 61 | Болт М10-6gх25.88.016 ГОСТ 7796-70 | Болт М10-6gх25.88.016 ГОСТ 7796-70 | |
| 62 | Шайба 10ОТ 65Г 096 ГОСТ 6402-70 | Шайба 10ОТ 65Г 096 ГОСТ 6402-70 |
Содержащиеся в справочниках-каталогах запасные части и детали не предлагаются к продаже, а носят исключительно информационный характер