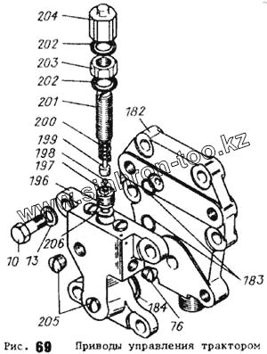
Каталог запасных частей к технике: АТЗ ТТ-4М. Приводы управления трактором
10
13
76
182
183
184
196
197
198
199
200
201
202
203
204
205
206
| Позиция на иллюстрации | Заводской номер детали | Название детали | |
|---|---|---|---|
| 10 | Болт М12-6gх30.88.016. ГОСТ 7796-70 | Болт М12-6gх30.88.016. ГОСТ 7796-70 | |
| 13 | Шайба 12ОТ 65Г 096 ГОСТ 6402-70 | Шайба 12ОТ 65Г 096 ГОСТ 6402-70 | |
| 76 | Пробка КГ1/8"А12.016 ОСТ 23.1.117-83 | Пробка КГ1/8"А12.016 ОСТ 23.1.117-83 | |
| 182 | МТ4.40.089 | Проставка | |
| 183 | Кольцо 014-018-25-2-2 ГОСТ 18829-73 | Кольцо 014-018-25-2-2 ГОСТ 18829-73 | |
| 184 | Кольцо 026-032-36-2-2 ГОСТ 18829-73 | Кольцо 026-032-36-2-2 ГОСТ 18829-73 | |
| 196 | 77.72А.117-1Б | Корпус предохранительного клапана | |
| 197 | 77.72А.118-1 | Гнездо клапана | |
| 198 | Р40/75-0808062 | Клапан-шарик | |
| 199 | Р40/75-0808059А | Направляющая | |
| 200 | Р40/75-0808048Б | Пружина | |
| 201 | 77.72А.119-1 | Винт регулировочный | |
| 202 | НШ10-0101034 | Кольцо уплотнительное | |
| 203 | Р75-058Б | Гайка | |
| 204 | Р75-051Б | Колпачок | |
| 205 | Пробка КГ1/4"А12.016 ОСТ 23.1.117-83 | Пробка КГ1/4"А12.016 ОСТ 23.1.117-83 | |
| 206 | Р75-В-028А | Шайба уплотнительная |
Содержащиеся в справочниках-каталогах запасные части и детали не предлагаются к продаже, а носят исключительно информационный характер