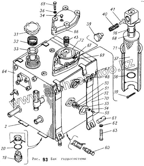
Каталог запасных частей к технике: АТЗ ТТ-4М. Бак гидросистемы
2
19
20
31
32
33
34
36
39
40
41
43
47
48
50
51
52
53
54
55
56
57
59
60
61
62
63
64
65
66
67
68
69
70
71
72
| Позиция на иллюстрации | Заводской номер детали | Название детали | |
|---|---|---|---|
| А70.02.000 | А70.02.000 | Уровнемер | |
| 2 | МТ4.57.135 | Подкладка | |
| 19 | 54.38.028-2 | Пробка магнитная | |
| 20 | 54.38.643 | Кольцо уплотняющее | |
| 31 | МТ4.50.013 | Переходник краника | |
| 32 | МО4.50.174 | Пружина | |
| 33 | МО4.50.037 | Фильтр | |
| 34 | Пробка КГ1/8"А12.016 ОСТ 23.1.117-83 | Пробка КГ1/8"А12.016 ОСТ 23.1.117-83 | |
| 36 | Шайба 10 65Г 096 ГОСТ 6402-70 | Шайба 10 65Г 096 ГОСТ 6402-70 | |
| 39 | МТ4.57.185 | Направляющая клапана | |
| 40 | МТ4.57.187 | Пружина | |
| 41 | МТ4.57.186 | Клапан | |
| 43 | МТ4.57.196 | Пружина | |
| 44 | МТ4.57.199 | Манжета | |
| 47 | Шплинт 3,2х18.016 ГОСТ 397-79 | Шплинт 3,2х18.016 ГОСТ 397-79 | |
| 48 | МТ4.37.309 | Палец | |
| 50 | А70.02.003 | Манжета | |
| 51 | А70.02.002 | Отражатель | |
| 52 | А70.02.001 | Стекло | |
| 53 | П4.57.165 | Крышка | |
| 54 | Шайба 8 65Г 096 ГОСТ 6402-70 | Шайба 8 65Г 096 ГОСТ 6402-70 | |
| 55 | Болт М8-6gх14.88.016 ГОСТ 7796-70 | Болт М8-6gх14.88.016 ГОСТ 7796-70 | |
| 56 | МТ4.57.184 | Кольцо | |
| 57 | 761-00-00-00 | Элемент фильтрующий | |
| 59 | Шплинт 5х50.016 ГОСТ 397-79 | Шплинт 5х50.016 ГОСТ 397-79 | |
| 60 | МТ4.50.111 | Штуцер | |
| 61 | МТ4.57.311 | Палец | |
| 62 | Шайба 16ОТ 65Г 096 ГОСТ 6402-70 | Шайба 16ОТ 65Г 096 ГОСТ 6402-70 | |
| 63 | МТ4.57.319 | Болт | |
| 64 | МТ4.57.052 | Корпус бака | |
| 65 | Болт М10-6gх55.88.016 ГОСТ 7795-70 | Болт М10-6gх55.88.016 ГОСТ 7795-70 | |
| 66 | МТ4.57.305 | Крышка | |
| 67 | П4.57.153 | Кольцо | |
| 68 | МТ4.57.025 | Труба фильтра | |
| 69 | МТ4.57.306 | Прокладка | |
| 70 | МТ4.57.308 | Лента | |
| 71 | МТ4.57.026 | Корпус фильтра | |
| 72 | МТ4.57.022 | Фильтр |
Содержащиеся в справочниках-каталогах запасные части и детали не предлагаются к продаже, а носят исключительно информационный характер