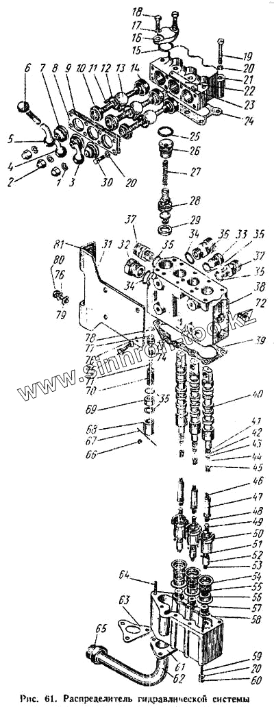
Каталог запасных частей к технике: АТЗ Т-4А. Распределитель гидравлической системы
1
2
3
4
5
6
7
8
9
10
11
12
13
14
15
16
17
18
19
20
20
20
21
22
23
24
25
26
27
28
29
30
31
32
33
34
34
35
35
35
35
36
37
37
38
39
40
41
42
43
44
45
46
47
48
49
50
51
52
53
54
55
56
57
58
59
60
61
62
63
64
65
66
67
68
69
70
71
72
73
74
75
76
76
77
78
79
80
81
| Позиция на иллюстрации | Заводской номер детали | Название детали | |
|---|---|---|---|
| Р75-В3А-003 | Р75-В3А-003 | Золотник в сборе | |
| Р75-В-006 | Р75-В-006 | Гильза золотника в сборе | |
| 04.53.001-2 | 04.53.001-2 | Установка распределителя | |
| М04.53.006-1 | М04.53.006-1 | Труба с фланцем и штуцером в сборе | |
| 04.53.004-1 | 04.53.004-1 | Рычаг средний с рукояткой в сборе | |
| 04.53.003-1 | 04.53.003-1 | Рычаг правый с рукояткой в сборе | |
| Р75-В3А-001 | Р75-В3А-001 | Распределитель в сборе | |
| 04.53.005-1 | 04.53.005-1 | Рычаг левый с рукояткой в сборе | |
| Р75-В3А-004 | Р75-В3А-004 | Корпус распределителя в сборе | |
| Р75-В3А-008 | Р75-В3А-008 | Крышка верхняя в сборе | |
| 1 | Шайба 12Н 65Г ГОСТ 6402-70 | Шайба 12Н 65Г ГОСТ 6402-70 | |
| 2 | Р40/75-0808061А | Колпачок рукоятки | |
| 3 | 04.53.103-2 | Рычаг правый | |
| 4 | 04.53.104-2 | Рычаг средний | |
| 5 | 04.53.105-2 | Рычаг левый | |
| 6 | 54.53.417 | Рукоятка рычага | |
| 7 | Р75-056 | Пыльник гофрированный | |
| 8 | Р75-3-055Б | Пластина пыльника | |
| 9 | Р75-3-057 | Пластина колец | |
| 10 | Р75-065 | Кольцо верхнее | |
| 11 | Шпонка 3х6,5 ГОСТ 8795-68 | Шпонка 3х6,5 ГОСТ 8795-68 | |
| 12 | НШ46-0505037 | Кольцо уплотннтельное | |
| 13 | Р75-054Б | Рычаг | |
| 14 | Р75-064 | Кольцо нижнее | |
| 15 | Р75-077 | Кольцо У-35х30-2 ГОСТ 9833-61 | |
| 16 | Р75-071В | Упор | |
| 17 | Шайба 10Н 65Г ГОСТ 6402-70 | Шайба 10Н 65Г ГОСТ 6402-70 | |
| 18 | Болт М10.2х25.88.35 ГОСТ 7796-70 | Болт М10.2х25.88.35 ГОСТ 7796-70 | |
| 19 | Болт М8.2х55.58 ГОСТ 7795-70 | Болт М8.2х55.58 ГОСТ 7795-70 | |
| 20 | Шайба 8Т 65Г ГОСТ 6402-70 | Шайба 8Т 65Г ГОСТ 6402-70 | |
| 21 | Р75-3-022А | Крышка верхняя | |
| 22 | НШ32-0303034В | Заклепка | |
| 23 | Р75Э-053Д | Этикетка | |
| 24 | Р40/75-0808038А | Прокладка верхняя | |
| 25 | НШ10-0101031 | Кольцо уплотнительное | |
| 26 | Р75-073А | Направляющая перепускного клапана | |
| 27 | Р75-072 | Пружина перепускного клапана | |
| 28 | Р40/75-0808041Б | Клапан перепускной | |
| 29 | Р40/75-0808040А | Гнездо клапана | |
| 30 | Болт М8.2х20.58 ГОСТ 7796-70 | Болт М8.2х20.58 ГОСТ 7796-70 | |
| 31 | 04.53.102 | Кронштейн крепления распределителя | |
| 32 | Р75-067 | Заглушка | |
| 33 | Р75-066 | Заглушка | |
| 34 | 54.53.406 | Кольцо уплотнительное | |
| 34 | НШ46-0505046 | Кольцо уплотнительное | |
| 35 | НШ10-0101034 | Кольцо уплотнительное | |
| 35 | 54.53.407 | Кольцо уплотнительное | |
| 36 | 54.53.403 | Штуцер | |
| 37 | 54.53.404 | Штуцер | |
| 38 | Р75-3-021 | Корпус распределителя | |
| 39 | Р40/75-0808039А | Прокладка нижняя | |
| 40 | Р75-В-024Б | Золотник | |
| 41 | Р75-В-052 | Фильтр | |
| 42 | Р75-В-028 | Прокладка | |
| 43 | Р75-В-027 | Гнездо клапана бустера | |
| 44 | Р75-В-026 | Клапан бустера | |
| 45 | Р75-В-045 | Направляющая клапана бустера | |
| 46 | Р75-В-036 | Пружина бустера | |
| 47 | Р75-В-046 | Гильза золотника | |
| 48 | Р75-В-044 | Винт регулировочный | |
| 49 | Р75-В-025 | Бустер | |
| 50 | Р75-В-031 | Обойма фиксатора | |
| 51 | Р75-В-030 | Фиксатор | |
| 52 | Р75-В-029 | Втулка фиксаторная | |
| 53 | Р75-В-032 | Пружина фиксатора | |
| 54 | Р75-034 | Стакан верхний | |
| 55 | Р75-035 | Пружина золотника | |
| 56 | Р75-033 | Стакан нижний | |
| 57 | Р75-037 | Пробка золотника | |
| 58 | Р75-3-023 | Крышка нижняя | |
| 59 | Шпилька А М8х115 (16/22) | Шпилька А М8х115 (16/22) | |
| 60 | Гайка М8.5 ГОСТ 5915-70 | Гайка М8.5 ГОСТ 5915-70 | |
| 61 | 04.53.106 | Фланец | |
| 62 | М04.53.107-2 | Труба | |
| 63 | 54.53.402 | Прокладка | |
| 64 | Шпилька А М8х120 (10/22) | Шпилька А М8х120 (10/22) | |
| 65 | М04.53.115 | Штуцер | |
| 66 | Р40/75-0808076 | Пломба | |
| 67 | Проволока диаметр 1х100 ГОСТ 3282-46 | Проволока диаметр 1х100 ГОСТ 3282-46 | |
| 68 | Р75-051Б | Колпачок | |
| 69 | Р75-058Б | Гайка | |
| 70 | Р40/75-0808049А | Винт регулировочный | |
| 71 | Р40/75-0808048Б | Пружина | |
| 72 | Пробка КГ 1/4" ГОСТ 12720-67 | Пробка КГ 1/4" ГОСТ 12720-67 | |
| 73 | Р40/75-0808062 | Клапан-шарик | |
| 74 | Р40/75-0808059А | Направляющая | |
| 75 | Болт М10.2х20.88.35 ГОСТ 7796-70 | Болт М10.2х20.88.35 ГОСТ 7796-70 | |
| 76 | Шайба 10ОТ 65Г ГОСТ 6402-70 | Шайба 10ОТ 65Г ГОСТ 6402-70 | |
| 77 | Р40/75-0808063А | Гнездо клапана | |
| 78 | Р40/75-0808047 | Шайба уплотнительная | |
| 79 | Шайба 10 ГОСТ 11371-68 | Шайба 10 ГОСТ 11371-68 | |
| 80 | Болт М10.2х35.88.35 ГОСТ 7796-70 | Болт М10.2х35.88.35 ГОСТ 7796-70 | |
| 81 | Гайка М10.2,5.ОН 23-01-017-68 | Гайка М10.2,5.ОН 23-01-017-68 |
Содержащиеся в справочниках-каталогах запасные части и детали не предлагаются к продаже, а носят исключительно информационный характер