Каталог запасных частей к технике: Атек-999Е. Коробка передач гидромеханическая
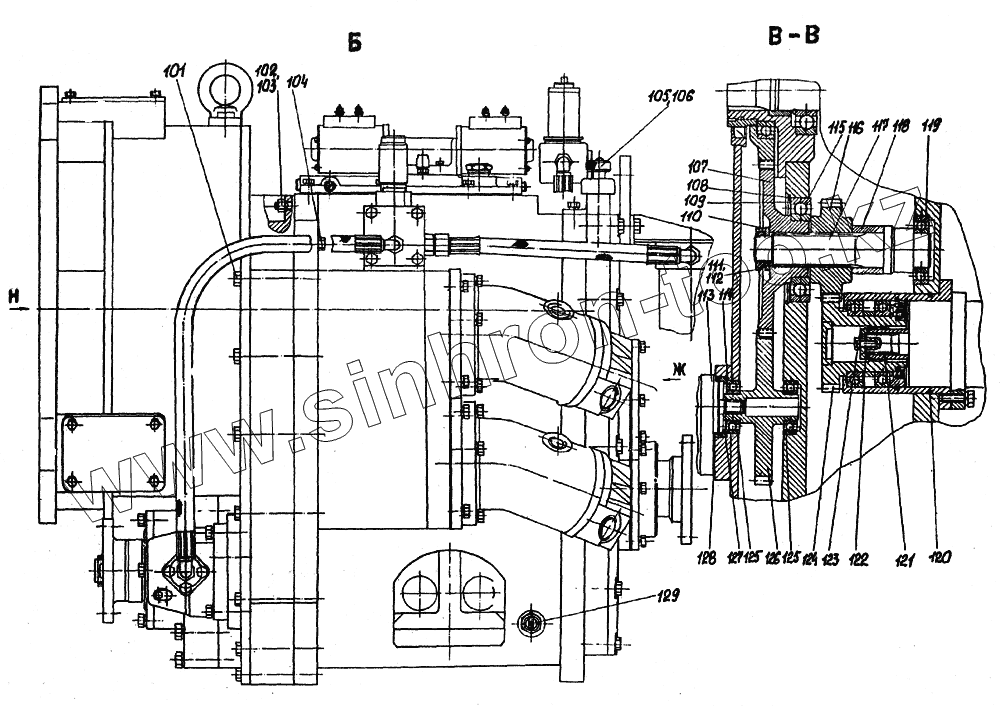
101
102
103
104
105
106
107
108
109
110
111
112
113
114
115
116
117
118
119
120
121
122
123
124
125
125
126
127
128
129
| Позиция на иллюстрации | Заводской номер детали | Название детали | |
|---|---|---|---|
| 101 | M12-6gx75.109.40X.019 ГОСТ 7798-70 | Болт | |
| 102 | М12-6Н.05.40Х.019 ГОСТ 5915-70 | Гайка | |
| 103 | 2М12-6gA35.109.40X.019 ГОСТ 22034-78 | Шпилька | |
| 104 | М12-6gх70.109.40Х.019 ГОСТ 7798-70 | Болт | |
| 105 | 72.3521.100 | Маслоуказатель | |
| 106 | 016-020-25-1-6 ГОСТ 18323-73 | Кольцо | |
| 107 | 72.3500.033 | Шестерня | |
| 108 | A120 ГОСТ 13943-86 | Кольцо | |
| 109 | 72.3500.035 | Прокладка | |
| 110 | 05.3500.067 | Шайба | |
| 111 | М30х1,5-6H.04.019 ГОСТ 11871-98 | Гайка | |
| 112 | H30.01.019 ГОСТ 11872-80 | Шайба | |
| 113 | НШ-10-3Л ОСТ 23.1.92-88 | Насос шестеренный | |
| 114 | 72.3500.039 | Прокладка | |
| 115 | 213 ГОСТ 8338-75 | Подшипник | |
| 116 | 72.3500.032 | Шестерня | |
| 117 | 72.3500.031 | Вал | |
| 118 | 72.3500.034 | Втулка | |
| 119 | 208 ГОСТ 8338-75 | Подшипник | |
| 120 | 110-115-30-1-6 ГОСТ 18829-73 | Кольцо | |
| 121 | 05.3500.034 | Муфта | |
| 122 | 05.3500.035 | Шайба | |
| 123 | 2.8.04.019 ГОСТ 13464-77 | Шайба | |
| 124 | 05.3500.330 | Привод насоса | |
| 125 | 206 ГОСТ 8338-75 | Подшипник | |
| 126 | 72.3500.036 | Шестерня | |
| 127 | 72.3500.037 | Кольцо | |
| 128 | 72.3500.038 | Прокладка | |
| 129 | ТМ 100-В ТУ 37.003.800-77 | Датчик указателя температуры |
Содержащиеся в справочниках-каталогах запасные части и детали не предлагаются к продаже, а носят исключительно информационный характер