Каталог запасных частей к технике: Атек-999Е. Коробка передач гидромеханическая
2
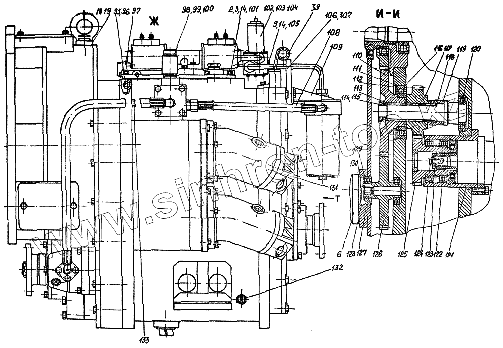
3
6
9
14
14
18
19
39
95
96
97
98
99
100
101
102
103
104
105
106
107
108
109
110
111
112
113
114
115
116
117
118
119
120
121
122
123
124
125
126
127
128
129
130
131
132
133
| Позиция на иллюстрации | Заводской номер детали | Название детали | |
|---|---|---|---|
| 2 | 1X6X10.АД1М ГОСТ 18677-73 | Пломба | |
| 3 | КО-0,5 ГОСТ 792-67 | Проволока, L=3000мм | |
| 6 | НШ-10-3Л ОСТ 23.1.92-88 | Насос шестеренный | |
| 9 | M8-6gx20.109.40X.019 ГОСТ 7798-70 | Болт | |
| 14 | 8Т.65Г.019 ГОСТ 6402-70 | Шайба | |
| 18 | 72.3311.000 | Корпус гидротрансформатора | |
| 19 | 72.3500.016 | Прокладка | |
| 39 | 72.3521.000 | Маслоуказатель | |
| 95 | М12-6Н.12.40Х.019 ГОСТ 5915-70 | Гайка | |
| 96 | 2M12-6gx35.109.40X.019 ГОСТ 22034-76 | Шпилька | |
| 97 | 11.3829 ТУ 37.003.587-78 | Датчик указателя давления масла | |
| 98 | 72.3518.000 | Гидроклапан предохранительный | |
| 99 | M8-6gx50.109.40X.019 ГОСТ 7798-70 | Болт | |
| 100 | 025-028-19-1-6 ГОСТ 18829-73 | Кольцо | |
| 101 | 3M8-6gx25.109.40X.019 ГОСТ 7798-70 | Болт | |
| 102 | У 4690.06.901 ТУ 22.153.08-88 | Гидрораспределитель | |
| 103 | BM5-6gx14.58.019 ГОСТ 17473-80 | Винт | |
| 104 | 5Т.65Г.019 ГОСТ 6402-70 | Шайба | |
| 105 | 72.3500.051 | Кронштейн | |
| 106 | 72.3500.029 | Крышка | |
| 107 | M12-6ex65.109.40X.019 ГОСТ 7798-70 | Болт | |
| 108 | 72.3320.000 | Гидроразводка ГМП | |
| 109 | 72.3519.000 | Кронштейн | |
| 110 | 72.3500.033 | Шестерня | |
| 111 | А120 Хим.окс.прм ГОСТ 13943-86 | Кольцо | |
| 112 | 72.3500.035 | Прокладка | |
| 113 | 05.3500.067 | Шайба | |
| 114 | М30х1,5-6Н.04.019 ГОСТ 11871-88 | Гайка | |
| 115 | Н30.01.019 ГОСТ 11872-89 | Шайба | |
| 116 | 213 ГОСТ 8338-75 | Подшипник | |
| 117 | 72.3500.032 | Шестерня | |
| 118 | 72.3500.031 | Вал | |
| 119 | 72.3500.034 | Втулка | |
| 120 | 208 ГОСТ 8338-75 | Подшипник | |
| 121 | 110-115-30-1-6 ГОСТ 18829-73 | Кольцо | |
| 122 | 05.3500.034 | Муфта | |
| 123 | 05.3500.035 | Шайба | |
| 124 | 2,8.04.019 ГОСТ 13464-77 | Шайба | |
| 125 | 05.3500.330 | Привод насоса | |
| 126 | 72.3500.036 | Шестерня | |
| 127 | 206 ГОСТ 8338-75 | Подшипник | |
| 128 | 72.3500.037 | Кольцо | |
| 129 | 72.3500.039 | Прокладка | |
| 130 | 72.3500.038 | Прокладка | |
| 131 | 210.16.12.01Г ТУ 22.1.016.234-87 | Насос | |
| 132 | ТМ100-В ТУ 37.003.800-77 | Датчик указателя температуры | |
| 133 | M12-6gx40.109.40X.019 ГОСТ 7798-70 | Болт |
Содержащиеся в справочниках-каталогах запасные части и детали не предлагаются к продаже, а носят исключительно информационный характер