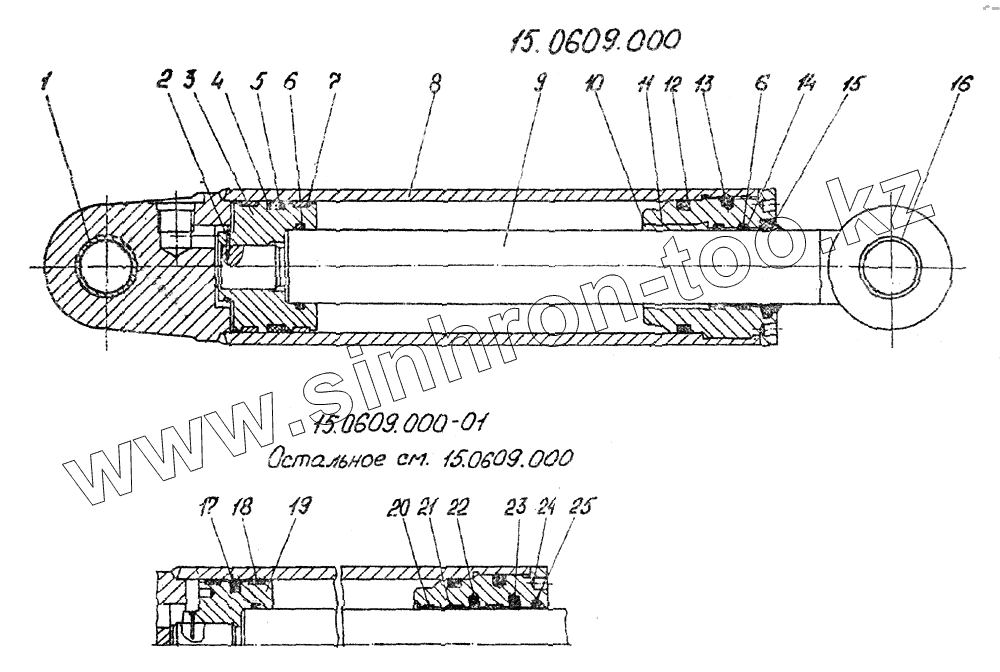
Каталог запасных частей к технике: Атек-999Е. Гидроцилиндр
15.0609.000
15.0609.000
15.0609.000-01
1
2
3
4
5
5
6
6
6
7
8
9
10
11
12
13
14
15
16
17
18
19
20
21
22
23
24
25
| Позиция на иллюстрации | Заводской номер детали | Название детали | |
|---|---|---|---|
| 15.0609.000 | 15.0609.000 | Гидроцилиндр | |
| 15.0609.000-01 | 15.0609.000-01 | Гидроцилиндр | |
| 1 | 15.0363.103-04 | Втулка | |
| 2 | 50.8027.004 | Кольцо | |
| 3 | 05.0302.001 | Поршень | |
| 4 | 15.0361.004 | Кольцо | |
| 5 | 070-080-58-2-2 ГОСТ 18829-73 | Кольцо | |
| 5 | 070-080-58-2-2 ГОСТ 18829-73 | Кольцо | |
| 6 | 045-053-46-2-2 ГОСТ 18629-73 | Кольцо | |
| 6 | 045-053-46-2-2 ГОСТ 18829-73 | Кольцо | |
| 7 | 05.0290.004-03 | Кольцо | |
| 8 | 15.0608.100-01 | Гильза | |
| 9 | 15.0608.200 | Шток | |
| 10 | 50.8030.302 | Втулка | |
| 11 | 15.0605.300 | Крышка | |
| 12 | 50.8026.003 | Кольцо | |
| 13 | 50.8022.006 | Пробка | |
| 14 | 15.0363.003-01 | Кольцо | |
| 15 | 15.0363.005 | Грязесъёмник | |
| 16 | 15.0363.103-03 | Втулка | |
| 17 | S-55044-0800-G46-N | Кольцо | |
| 18 | S-56713-0800-255-A | Направляющая | |
| 19 | 15.0601.003 | Поршень | |
| 20 | S-57267-0450-47-A | Направляющая | |
| 21 | S-56703-0450-255-A | Направляющая | |
| 22 | S-55013-0450-G46-K-R | Кольцо | |
| 23 | S-55013-0450-G451-K-R | Кольцо | |
| 24 | 15.0605.001 | Крышка | |
| 25 | S-56151-0450-G451 | Грязесъемник |
Содержащиеся в справочниках-каталогах запасные части и детали не предлагаются к продаже, а носят исключительно информационный характер