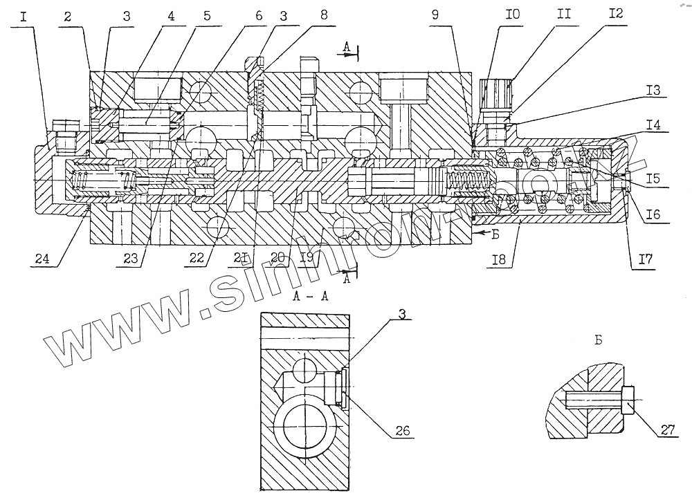
Каталог запасных частей к технике: Атек-761. 62.9001.200 Гидрораспределитель
62.9001.200
1
2
3
3
3
4
5
6
8
9
10
11
12
13
14
15
16
17
18
19
20
21
22
23
24
26
27
| Позиция на иллюстрации | Заводской номер детали | Название детали | |
|---|---|---|---|
| 62.9001.200 | 62.9001.200 | Гидрораспределитель | |
| 1 | 57.9001.101 | Крышка | |
| 2 | 57.9001.102 | Кольцо | |
| 3 | 18829.020.025.30.2.2 | Кольцо | |
| 4 | 57.9001.103 | Пробка | |
| 5 | 57.9001.104 | Упор | |
| 6 | 57.9001.105 | Пробка | |
| 8 | 57.9001.107 | Пробка | |
| 9 | 57.9001.114 | Упор | |
| 10 | 18829.054.058.25.2.2 | Кольцо | |
| 11 | 22241.18 | Крышка | |
| 12 | 58.9033.000 | Дроссель | |
| 13 | 18829.012.016.25.2.2 | Кольцо | |
| 14 | 57.9001.115 | Пружина | |
| 15 | 57.9001.126 | Пружина | |
| 16 | 62.9001.131 | Пробка | |
| 17 | 18829.010.014.25.2.2 | Кольцо | |
| 18 | 62.9001.127 | Крышка | |
| 19 | 57.9001.112 | Корпус | |
| 20 | 66.9001.150-01 | Золотник | |
| 21 | 02.1600.025 | Пружина | |
| 22 | 57.9001.106 | Клапан | |
| 23 | 18829.016.020.25.2.2 | Кольцо | |
| 24 | 18829.039.045.36.2.2 | Кольцо | |
| 26 | 57.9001.122 | Пробка | |
| 27 | 11738.8.30 | Винт |
Содержащиеся в справочниках-каталогах запасные части и детали не предлагаются к продаже, а носят исключительно информационный характер