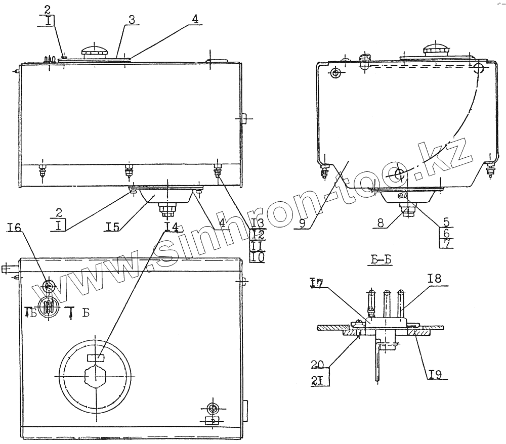
Каталог запасных частей к технике: Атек-761. 49.2200.000 Топливный бак
49.2200.000
1
1
2
2
3
4
4
5
6
7
8
9
10
11
12
13
14
15
16
17
18
19
20
21
| Позиция на иллюстрации | Заводской номер детали | Название детали | |
|---|---|---|---|
| 49.2200.000 | 49.2200.000 | Топливный бак | |
| 1 | 7798.10.25 | Болт | |
| 2 | 6402.10 | Шайба | |
| 3 | 49.2203.000 | Крышка | |
| 4 | 10.1400.006 | Прокладка | |
| 5 | 49.2205.000 | Штуцер с фильтром | |
| 6 | 02.1500.054 | Кольцо | |
| 7 | 064400.5286 | Заглушка | |
| 8 | 09.0902.120 | Дозатор | |
| 9 | 49.2201.000 | Бак | |
| 10 | 5915.12 | Гайка | |
| 11 | 6958.A12 | Шайба | |
| 12 | 11371.12 | Шайба | |
| 13 | 22034.2.12.35 | Шпилька | |
| 14 | 49.2200.002 | Табличка | |
| 15 | 49.2204.000 | Отстойник | |
| 16 | 22241.112.16x1,5 | Пробка | |
| 17 | 37.003.002.БМ146-Д | Датчик указателя уровня топлива | |
| 18 | 49.2207.000 | Каркас | |
| 19 | 49.2200.001 | Прокладка | |
| 20 | 17473.5.12 | Винт | |
| 21 | 6402.5 | Шайба | |
| 22 | 10.1400.011 | Прокладка | |
| 23 | 10.1400.002 | Шайба | |
| 24 | 10.1400.004 | Гайка | |
| 25 | 10.1400.001 | Стекло | |
| 26 | 10.1400.003 | Прокладка | |
| 27 | 50.7413.021 | Колпачок | |
| 28 | 26.6700.211 | Прокладка | |
| 29 | 18829.018.022.25.2.2 | Кольцо | |
| 30 | 91.5100.005 | Заглушка | |
| 31 | 7798.12.45 | Болт | |
| 32 | 10.1405.000 | Крышка |
Содержащиеся в справочниках-каталогах запасные части и детали не предлагаются к продаже, а носят исключительно информационный характер