Каталог запасных частей к технике: Атек-761. 19.2000.000 Электрооборудование
19.2000.000
1
1
2
3
4
5
5
6
6
7
7
8
9
10
11
12
13
14
15
16
17
18
19
20
21
22
23
23
24
25
25
26
27
28
29
30
31
32
32
33
34
35
36
37
37
38
39
40
41
42
43
44
45
46
47
48
49
50
51
52
53
54
55
56
57
58
59
60
61
62
63
64
65
67
68
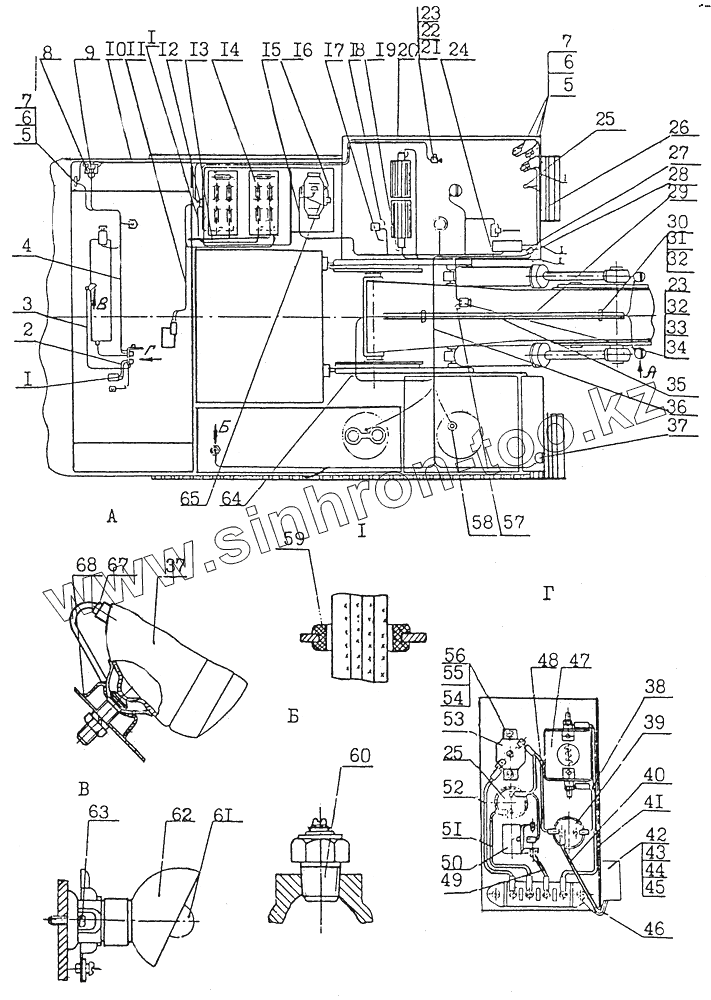
| Позиция на иллюстрации | Заводской номер детали | Название детали | |
|---|---|---|---|
| 19.2000.000 | 19.2000.000 | Электрооборудование | |
| 1 | 49.2000.210-02 | Провод | |
| 2 | 10.2000.180 | Провод | |
| 3 | 33.1400.020-01 | Провод | |
| 4 | 49.2011.000 | Жгут | |
| 5 | 17473.5.20 | Винт | |
| 6 | 6402.5 | Шайба | |
| 7 | 37.003.419.ПС2-А2 | Панель соединительная | |
| 8 | 37.003.395.РБ1 | Реле | |
| 9 | 37.003.075.PС502 | Реле | |
| 10 | 19.2001.000 | Жгут | |
| 11 | 10.2008.000 | Жгут | |
| 12 | 37.003.1325.ПН14.3759.000-10 | Преобразователь | |
| 13 | 10.2011.000 | Жгут | |
| 14 | 16-563.0.48.6СТ-182ЭМ | Батарея | |
| 15 | 49.2001.000A | Жгут | |
| 16 | 19.2000.140 | Провод | |
| 17 | 49.2000.220 | Провод | |
| 18 | 49.2000.210-01 | Провод | |
| 19 | 49.2000.210 | Провод | |
| 20 | 10.2000.150 | Провод | |
| 21 | 5916.5 | Гайка | |
| 22 | 37003565.C311-01 | Сигнал | |
| 23 | 37003.419.ПС4-А2 | Панель соединительная | |
| 24 | 49.2004.000A | Жгут | |
| 25 | 37.003.402.ВК322 | Выключатель | |
| 26 | 19.2002.000 | Жгут | |
| 27 | 49.2003.000 | Жгут | |
| 28 | 37.003.419.ПС5 | Панель соединительная | |
| 29 | 10.2000.010 | Провод | |
| 30 | 10.2000.001 | Планка | |
| 31 | 7798.6.20 | Болт | |
| 32 | 6402.6 | Шайба | |
| 33 | 17473.6.10 | Винт | |
| 34 | 5915.6.5 | Гайка | |
| 35 | 10.2000.008 | Труба | |
| 36 | 19.2003.000 | Жгут | |
| 37 | 37.003.989.30.3711 | Фара | |
| 38 | 10.2000.260 | Провод | |
| 39 | 37.003.698..BK317-A2 | Выключатель | |
| 40 | 33.1401.140-06 | Провод | |
| 41 | 10.2000.350 | Провод | |
| 42 | 16.526.359.47K | Розетка | |
| 43 | 17475.3.25 | Винт | |
| 44 | 5916.3 | Гайка | |
| 45 | 6402.3 | Шайба | |
| 46 | 33.1401.140-07 | Провод | |
| 47 | 0B65-2000 | Элемент контрольный | |
| 48 | 10.2000.250 | Перемычка | |
| 49 | 10.2000.270 | Провод | |
| 50 | 37.003.417.П305 | Переключатель | |
| 51 | 10.2000.360 | Провод | |
| 52 | 10.2000.240 | Провод | |
| 53 | 37.003.008.ПР2-Б | Предохранитель | |
| 54 | 174734.14 | Винт | |
| 55 | 5916.4 | Гайка | |
| 56 | 6402.4 | Шайба | |
| 57 | 49.2000.120 | Провод | |
| 58 | 37.003.002. 6М146-Д | Датчик | |
| 59 | 10.2000.011 | Втулка | |
| 60 | 37.003.800.TM100-B | Летчик | |
| 61 | 2023.1.A12-21-3 | Лампа | |
| 62 | 37.003187.ПД308-Б | Лампа подкапотная | |
| 63 | 17473.6.16 | Винт | |
| 64 | 49.2000.002 | Планка | |
| 65 | 19.2000.130 | Провод | |
| 67 | 02.2303.100 | Цоколь | |
| 68 | 02.2300.001 | Чашка | |
| 69 | 37.003.231.ПК201-Д | Плафон | |
| 70 | 17473.5.16 | Винт | |
| 71 | 37.003.400БК318-Б | Выключатель | |
| 72 | 7798.8.25 | Болт | |
| 73 | 5915.8 | Гайка | |
| 74 | 6402.8 | Шайба | |
| 75 | 37.003.079.ФП310-Е | Световозвращатель | |
| 76 | 49.2000.010A | Перемычка | |
| 77 | 49.2000.020 | Провод | |
| 78 | 49.2000.060A | Перемычка | |
| 79 | 49.2000.050 | Провод | |
| 80 | 19.2005.000 | Жгут | |
| 81 | 49.2000.150 | Провод | |
| 82 | 49.2000.090 | Перемычка | |
| 83 | 49.2000.040 | Перемычка | |
| 84 | 10.2000.009 | Втулка |
Содержащиеся в справочниках-каталогах запасные части и детали не предлагаются к продаже, а носят исключительно информационный характер