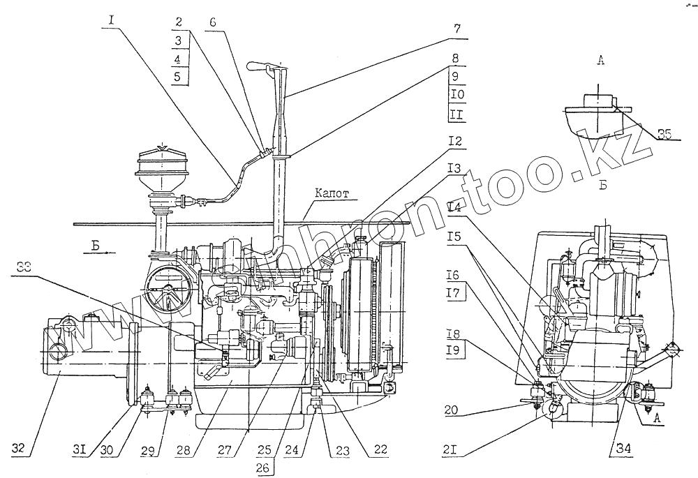
Каталог запасных частей к технике: Атек-761. 19.1200.000 Установка силовая
19.1200.000
1
2
3
4
5
6
7
8
9
10
11
12
13
14
15
16
17
18
19
20
21
22
23
24
25
26
27
28
29
30
31
32
33
34
35
| Позиция на иллюстрации | Заводской номер детали | Название детали | |
|---|---|---|---|
| 19.1200.000 | 19.1200.000 | Установка силовая | |
| 1 | 49.1221.405 | Трубка отсосная | |
| 2 | 10.1218.009 | Хомут | |
| 3 | 7798.6.25 | Болт | |
| 4 | 5915.6 | Гайка | |
| 5 | 6402.6 | Шайба | |
| 6 | 49.1221.402 | Рукав | |
| 7 | 49.1221.300 | Эжектор с крышкой | |
| 8 | 49.1221.004 | Хомут | |
| 9 | 7798.10.35 | Болт | |
| 10 | 5915.10 | Гайка | |
| 11 | 6402.10 | Шайба | |
| 12 | 45.3802.000 | Установка компрессора | |
| 13 | 10.1213.000 | Установка радиатора, калорифера и шторки | |
| 14 | 10.1207.000 | Управление подачей топлива | |
| 15 | 49.1206.000 | Узел подачи топлива | |
| 16 | 40.3800.002 | Болт | |
| 17 | 5915.14 | Гайка | |
| 18 | 7796.14.35 | Болт | |
| 19 | 6402.14 | Шайба | |
| 20 | 11371.14 | Шайба | |
| 21 | 10.1218.000 | Установка подогревателя ПЖБ-300В | |
| 22 | 44.1201.000 | Опора передняя | |
| 23 | 02.1200.003 | Шайба упорная | |
| 24 | 7798.14.170 | Болт | |
| 25 | 7796.14.65 | Болт | |
| 26 | 2524.14 | Гайка | |
| 27 | 43.1201.000 | Установка гидронасоса | |
| 28 | 231.318 | Двигатель СМД-17Н | |
| 29 | 44.1202.000 | Опора задняя | |
| 30 | 44.1203.000 | Опора дополнительная | |
| 31 | 02.1200.004 | Чашка амортизатора | |
| 32 | 40.3801.000 | Установка насоса | |
| 33 | 40.3803.000 | Хомут | |
| 34 | 3128.2.12 | Штифт | |
| 35 | 49.1200.001 | Планка |
Содержащиеся в справочниках-каталогах запасные части и детали не предлагаются к продаже, а носят исключительно информационный характер