Вернуться на главную
Поиск
Каталоги запчастей к технике
Спецтехника
Атек
Атек-761
10.1218.000 Установка подогревателя ПЖБ-300В
Каталог запасных частей к технике: Атек-761. 10.1218.000 Установка подогревателя ПЖБ-300В
zoom-in
zoom-out
enlarge
shrink
circle-right
circle-left
file-text2
info
cart
Тип техники
Не выбрано
Легковые автомобили
Грузовые автомобили и прицепы
Автобусы
Сельхозтехника
Спецтехника
Двигатели
Мототехника
Марка
Не выбрано
Ammann
BOMAG
CARMIX
CASE IH
Changlin
ChengGong
Dimex
Doosan
DYNAPAC
Foton
HAMM
Hidromek
Hitachi
Hyundai
JCB
JLG
John Deere
Komatsu
LIEBHERR
LiuGong
Lonking (LongGong)
Luneng
MANITOU
Mitsuber
New Holland
PENGPU
RM-Terex
SANY
SDLG
SEM
Shantui
Shehwa HBXG
Soosan
TIGARBO
VOGELE
Volvo
WAY
WIRTGEN
XCMG
XGMA
Xiamen
YTO
Yuchai
Zoomlion
Автокран
АЗСМ
Алтайлесмаш
Амкодор
АОМЗ
Атек
АТЗ
Балканкар Рекорд
БелАЗ
Беловеж
Борекс
Брянский Арсенал
Булат
ВЭКС
ГАЗ
Геомаш
Гидромаш
Донекс
Дормаш
Дормашина
Дорэлектромаш
ДЭЗ
ЕлАЗ
ЗЗГТ
Ижнефтемаш
Канаш-электрокар
КЗКТ
ККЗ
Клевер
Клинцовский автокрановый завод
КМЗ
КМЗ 1 Мая
Ковровец
Коммаш
Кранэкс
КЭЗ
КЭМЗ
ЛЗА
МАЗ
МЗИК
МЗКМ
МЗКТ
Михневский РМЗ
МоАЗ
Мозырский МЗ
МТЗ
ОЗП
Онежец
ПАО "ТЗА"
ППС Детва
Промтрактор
ПТЗ
Раскат
СпецАгрегат
ТВЭКС
ТТМ
УВЗ
Угличмаш
УЗТМ
ХТЗ
ЧЗКМ
ЧСДМ
ЧТЗ
ЭКСКО
ЭКСМАШ
ЮрМаш
Модель
Не выбрано
Атек-2324-1 (2005)
Атек-761
Атек-999Е (2006)
Э-5015А (1997)
ЭО-4321Б (1996)
ЭО-4321В (дополнение) (1997)
ЭОВ-4421 (1983)
Схема
>
Не выбрано
40.1500.000-06 Кабина
40.1500.000-06 Кабина
40.1500.000-06 Кабина
45.1526.000 Стекло ветровое
40.9800.000 Контейнер
10.2800.000-01 Капот двигателя
19.1200.000 Установка силовая
45.3802.000 Установка компрессора
43.1201.000 Установка гидронасосов
49.1206.000 Узел подачи топлива
10.1207.000 Управление подачей топлива
10.1218.000 Установка подогревателя ПЖБ-300В
10.1218.000 Установка подогревателя ПЖБ-300В
40.3801.000 Установка насоса
40.3801.000 Установка насоса
10.2500.000 Шланг ручной заправки
49.2200.000 Топливный бак
50.1100.000 Фильтр
10.1213.000 Установка радиатора, калорифера и шторки
58.1000.000 Ход гусеничный
58.1020.000 Механизм натяжения
58.1020.100 Колесо натяжное
33.0102.300 Гидроцилиндр
58.1040.000 Гусеница
58.1040.100 Цепь гусеничная
58.1080.000,58.1080.000-01 Каток
58.9120.000 Гидроразводка гусеничного хода
58.9120.000 Гидроразводка гусеничного хода
62.1070.000 Привод гусеничного хода
62.1070.100 Водило в сборе
62.1070.200 Водило в сборе
62.1070.300 Водило в сборе
58.2000.000 Платформа поворотная
49.0910.000-02 Пневморазводка поворотной платформы
49.0910.000-02 Пневморазводка поворотной платформы
58.9200.000 Гидроразводка поворотной платформы
58.9200.000 Гидроразводка поворотной платформы
58.9200.000 Гидроразводка поворотной платформы
19.3807.000 Управление подачей топлива
19.3808.000 Пульт управления
19.3809.000 Гидроразводка управления
19.2000.000 Электрооборудование
19.2000.000 Электрооборудование
19.3800.000 Управление экскаватором
19.3803.000 Пульт управления
19.3806.000 Щиток приборов
58.3000.00 Рабочее оборудование обратная лопата с ковшом емк. 0.8 м3
58.3000.00 Рабочее оборудование обратная лопата с ковшом емк. 0.8 м3
49.1906.000-03 Гидроразводка рабочего оборудования
49.1906.000-03 Гидроразводка рабочего оборудования
10.0909.000 Клапан обратный
49.1400.000 Гидробак
09.0902.120 Дозатор
57.1300.000 Привод поворота
21.1300.100 Блок клапанов
58.9060.000-01 Коллектор
58.9060.000-01 Коллектор
58.9500.000 Гидроразводка сервоуправления
58.9500.000 Гидроразводка сервоуправления
45.1907.100 Гидроклапан
40.1906.190 Дроссель
57.2108.000,57.2108.000-01 Гидроцилиндр
57.2109.000,57.2109.000-01 Гидроцилиндр
57.2117.000,57.2117.000-01 Гидроцилиндр
10.1901.920 Кран переключения слива
58.9002.000 Гидрораспределитель
57.9001.100,57.9001.100-01 Гидрораспределитель
57.9001.200,57.9001.200-01 Гидрораспределитель
57.9001.500 Гидроклапан обратный
57.9032.100 Гидроклапан предохранительный
15.0273.400 Гидроклапан предохранительный
62.9001.100,62.9001.100-01 Гидрораспределитель
62.9001.200 Гидрораспределитель
62.9001.500 Гидроклапан предохранительный
58.9033.000 Дроссель
58.0000.000 Экскаватор одноковшовый ATEK-761
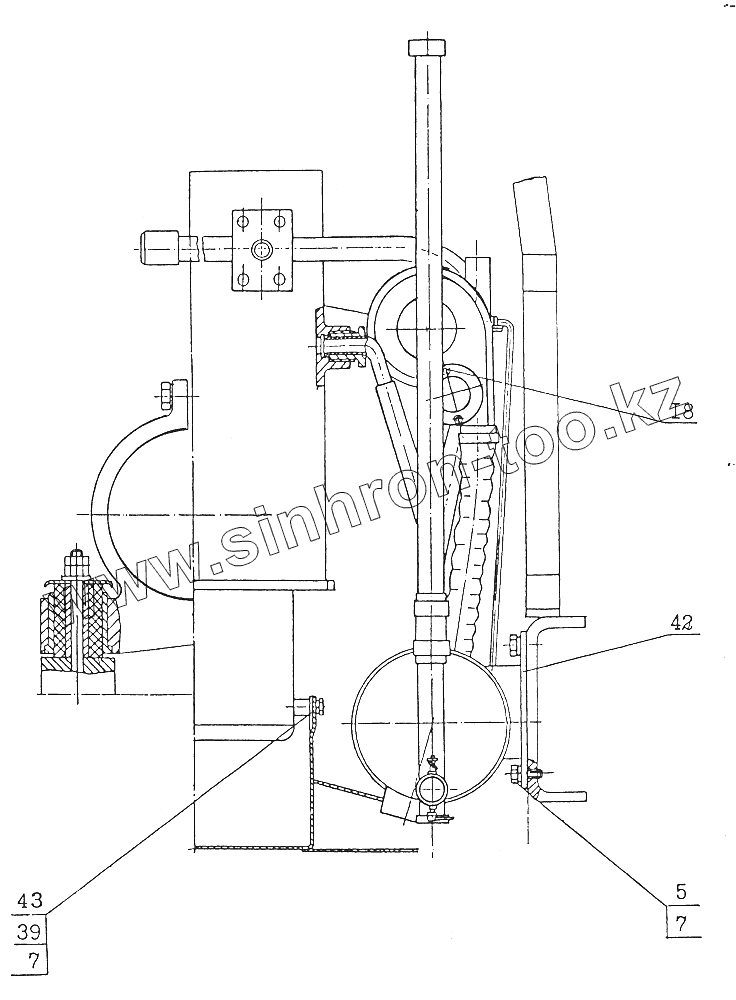
10.1218.000
5
7
7
18
39
42
43
Позиция на иллюстрации
Заводской номер детали
Название детали
10.1218.000
10.1218.000
Установка подогревателя ПЖБ-300В
1
10.1218.510
Труба
2
10.1208.004
Пробка
3
10.1208.005
Прокладка
4
10.01.010
Труба
5
7798.10.25
Болт
6
5916.10
Гайка
7
6402.10
Шайба
8
10.1218.002
Кронштейн
9
10.0900.003
Штуцер
10
10.1218.001
Полухомут
11
10.1208.700
Щиток управления
12
10.1218.580
Кронштейн
13
10.1208.800-01
Бак топливный
14
50.4574.535
Прокладка
15
КР-12Д
Кран
16
10.1208.013
Хомут
17
17473.5.12
Винт
18
5916.5
Гайка
19
6402.4
Шайба
20
10.1218.003
Рукав
21
40.1218.200
Труба
22
10.1218.543
Прокладка
23
7798.6.30
Болт
24
5915.6
Гайка
25
6402.6
Шайба
26
10.1208.003
Хомут
27
10.1208.015
Хомут
28
10.1218.006
Шланг
29
26.6788.400-01
Труба
30
10.1208.560
Паросборник
31
10.1218.200
Фальш-поддон
32
ПЖБ-300В
Подогреватель
33
10.1218.009
Хомут
34
10.1218.004
Рукав
35
7798.6.25
Болт
36
Kp-2
Кран
37
10.1218.710
Труба
38
10.1218.005
Рукав
39
11371.10
Шайба
40
5915.10
Гайка
41
22.032.10.25
Шпилька
42
10.1208.400
Кронштейн котла ПЖБ
43
7798.10.20
Болт
Содержащиеся в справочниках-каталогах запасные части и детали не предлагаются к продаже, а носят исключительно информационный характер
Дополнительная информация
×
Название:
Номер:
Примечание: