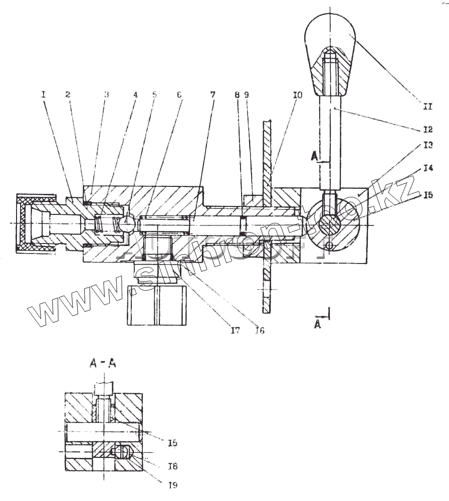
Каталог запасных частей к технике: Атек-2324-1. Клапан управляемый
1
2
3
4
5
6
7
8
9
10
11
12
13
14
15
15
16
17
18
19
| Позиция на иллюстрации | Заводской номер детали | Название детали | |
|---|---|---|---|
| 1 | 69.9200.081 | Штуцер | |
| 2 | [Кольцо 016-020-25-2-2 ГОСТ 18829] | Кольцо 016-020-25-2-2 ГОСТ 18829 | |
| 3 | 15.0260.101 | Корпус | |
| 4 | 15.0260.112 | Пружина | |
| 5 | [Шарик Б 7,144-40 ГОСТ 3722] | Шарик Б 7,144-40 ГОСТ 3722 | |
| 6 | 15.0260.111 | Пружина | |
| 7 | 15.0260.103 | Шток | |
| 8 | [Кольцо 005-08-19-2-2 ГОСТ 18829] | Кольцо 005-08-19-2-2 ГОСТ 18829 | |
| 9 | [Гайка М16х1,5-6Н.04.019 ГОСТ 5916] | Гайка М16х1,5-6Н.04.019 ГОСТ 5916 | |
| 10 | 15.0260.114 | Фланец | |
| 11 | 15.0260.108 | Рукоятка | |
| 12 | 15.0260.107 | Шток | |
| 13 | 15.1260.102 | Вилка | |
| 14 | 15.0260.105 | Ось | |
| 15 | 15.0260.106 | Кулачок | |
| 16 | [Кольцо 012-016-25-2-2 ГОСТ 18829] | Кольцо 012-016-25-2-2 ГОСТ 18829 | |
| 17 | 22.0500.101 | Штуцер | |
| 18 | [Шарик Б6-100 ГОСТ 3722] | Шарик Б6-100 ГОСТ 3722 | |
| 19 | 15.0260.109 | Пружина |
Содержащиеся в справочниках-каталогах запасные части и детали не предлагаются к продаже, а носят исключительно информационный характер