Каталог запасных частей к технике: Атек-2324-1. Гидроразводка поперечной рамы
1
2
3
4
5
6
7
7
8
8
9
10
10
11
12
13
14
14
14
15
15
15
16
16
16
17
18
19
20
21
22
23
24
25
25
26
26
27
28
29
30
31
32
33
34
35
36
36
37
37
38
39
40
41
42
43
44
45
46
47
48
49
50
51
51
51
51
52
52
53
53
54
55
56
57
58
59
60
61
62
63
64
65
66
67
68
69
70
71
72
73
74
75
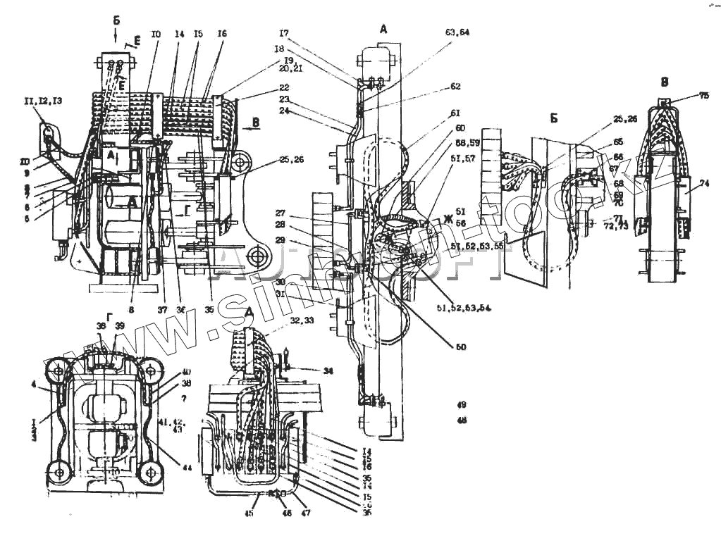
| Позиция на иллюстрации | Заводской номер детали | Название детали | |
|---|---|---|---|
| 1 | 69.9200.014 | Штуцер угловой | |
| 2 | 10.0809.002 | Гайка накидная | |
| 3 | 10.0809.001 | Кольцо | |
| 4 | 66.9920.00-01 | Рукав Н-08-400-00.00-Э | |
| 5 | 05.2910.021 | Хомут | |
| 6 | 05.2910.022 | Хомут | |
| 7 | 69.9200.021 | Труба | |
| 8 | 10.0809.004 | Штуцер | |
| 9 | 66.9920.000-29 | Рукав Н-08-250-00.00-Э | |
| 10 | 66.9920.000-21 | Рукав Н-28-1800-00.00-Э | |
| 11 | [Шайба 6.65Г.019 ГОСТ 6402] | Шайба 6.65Г.019 ГОСТ 6402 | |
| 12 | [Гайка М6-6Н.5.019 Г0СТ 5915] | Гайка М6-6Н.5.019 Г0СТ 5915 | |
| 13 | [Болт М6-6gх25.58.019 ГОСТ 7798] | Болт М6-6gх25.58.019 ГОСТ 7798 | |
| 14 | 66.9940.000-08 | Рукав Н-16-3950-00.00-Э | |
| 15 | 66.9940..000-07 | Рукав Н-16-3850-00.00-Э | |
| 16 | 66.9930.000-07 | Рукав Н-12-3850-00.00-Э | |
| 17 | 22.9300.021-01 | Труба | |
| 18 | 22.9200.021-02 | Труба | |
| 19 | [Болт М8-6gх60.58.019 ГОСТ 7798] | Болт М8-6gх60.58.019 ГОСТ 7798 | |
| 20 | [Гайка М8-6Н.5.019 ГОСТ 5915] | Гайка М8-6Н.5.019 ГОСТ 5915 | |
| 21 | [Шайба 8.65Г.019 ГОСТ 6402] | Шайба 8.65Г.019 ГОСТ 6402 | |
| 22 | 69.9200.001 | Планка | |
| 23 | 66.9200.021 | Труба | |
| 24 | 66.9200.021-01 | Труба | |
| 25 | [Болт М10-6gх20.58.019 ГОСТ 7798] | Болт М10-6gх20.58.019 ГОСТ 7798 | |
| 26 | [Шайба 10.65Г.019 ГОСТ 6402] | Шайба 10.65Г.019 ГОСТ 6402 | |
| 27 | 66.9200.021-02 | Труба | |
| 28 | 22.9200.013 | Стойка | |
| 29 | 66.9200.021-03 | Труба | |
| 30 | 66.9200.021-04 | Труба | |
| 31 | 66.9200.021-05 | Труба | |
| 32 | 69.9200.001-02 | Планка | |
| 33 | 69.9200.016 | Хомут | |
| 34 | 69.9200.080 | Клапан управляемый | |
| 35 | 69.9940.000-06 | Рукав Н-16-3650-00.00-Э | |
| 36 | 69.9200.021-01 | Труба | |
| 37 | 10.0809.007 | Гайка | |
| 38 | 10. 1904.017 | Тройник | |
| 39 | 69.9200.002 | Втулка | |
| 40 | 69.9200.021-02 | Труба | |
| 41 | 05.1920.001 | Штуцер угловой | |
| 42 | 26.2101.004 | Кольцо | |
| 43 | 26.2101.005 | Гайка накидная | |
| 44 | 66.9920.000-30 | Рукав Н-08-270-00.00-Э | |
| 45 | 66.9200.021-03 | Труба | |
| 46 | 10.1905.042-01 | Тройник | |
| 47 | 66.9200.021-09 | Труба | |
| 48 | 22.9200.021-13 | Труба | |
| 49 | 22.9200.021-12 | Труба | |
| 50 | 15.0280.015 | Штуцер | |
| 51 | [Кольцо 018-022-25-2-2 ГОСТ 18829] | Кольцо 018-022-25-2-2 ГОСТ 18829 | |
| 52 | 57.0107.002 | Гайка | |
| 53 | 57.0107.001 | Кольцо | |
| 54 | 05.2910.008 | Штуцер угловой | |
| 55 | 57.0107.003 | Штуцер | |
| 56 | 10.1908.011 | Штуцер | |
| 57 | 02.1500.033 | Пробка | |
| 58 | 05.1930.005 | Пружина защитная | |
| 59 | 66.9930.000-02 | Рукав Н-12-650-00.00-Э | |
| 60 | 66.9930.000 | Рукав Н-12-450-00.00-Э | |
| 61 | 66.9930.000-05 | Рукав Н-12-1250-00.00-Э | |
| 62 | 10.1905.066 | Штуцер | |
| 63 | [Болт М8-6gх30.58.019 ГОСТ 7798] | Болт М8-6gх30.58.019 ГОСТ 7798 | |
| 64 | 22.9200.008 | Хомут | |
| 65 | 69.9200.090 | Стойка | |
| 66 | 69.9200.050 | Стойка | |
| 67 | 05.1910.600 | Щиток левый | |
| 68 | 69.9200.004 | Хомут | |
| 69 | [Болт М12-6gх55.58.019 ГОСТ 7798] | Болт М12-6gх55.58.019 ГОСТ 7798 | |
| 70 | [Шайба 12.65Г.019 ГОСТ 6402] | Шайба 12.65Г.019 ГОСТ 6402 | |
| 71 | [Болт М8-6gх40.58.019 ГОСТ 7798] | Болт М8-6gх40.58.019 ГОСТ 7798 | |
| 72 | 69.9200.008 | Втулка | |
| 73 | 69.9200.009 | Пластина | |
| 74 | 05.1910.700 | Щиток правый | |
| 75 | 69.9200.060 | Стойка |
Содержащиеся в справочниках-каталогах запасные части и детали не предлагаются к продаже, а носят исключительно информационный характер