Каталог запасных частей к технике: Атек-2324-1. Двигатель
31
32
33
34
35
36
37
38
39
40
41
42
43
44
45
46
47
48
49
50
51
52
53
54
55
56
57
58
59
60
61
62
63
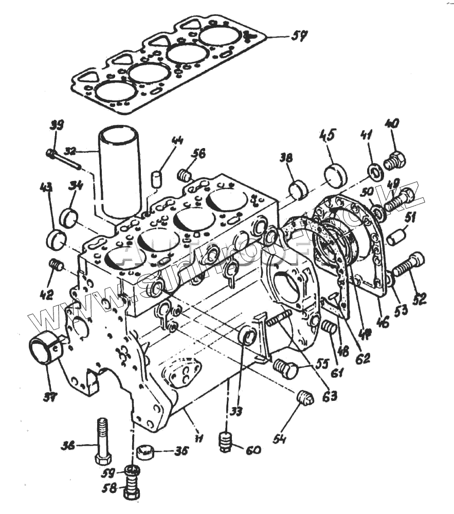
| Позиция на иллюстрации | Заводской номер детали | Название детали | |
|---|---|---|---|
| 3135Х034 (В) | 3135Х034 (В) | Гильза | |
| 31134163 (Д) | 31134163 (Д) | Втулка | |
| 31 | zz50162 | Блок цилиндров | |
| 32 | 3135Х033 (А) | Гильза | |
| 33 | 650710 | Пробка | |
| 34 | 32418117 | Пробка | |
| 35 | 33142111 | Втулка | |
| 36 | 32166329 | Винт | |
| 37 | 31134132 (С) | Втулка | |
| 38 | 650710 | Пробка | |
| 39 | 2485А204 | Пробка | |
| 40 | 650582 | Пробка | |
| 41 | 920130 | Шейба | |
| 42 | 32114501 | Пробка | |
| 43 | 650577 | Пробка | |
| 44 | 32417134 | Пробка | |
| 45 | 32416105 | Пробка | |
| 46 | 4142V061 | Картер | |
| 47 | 2418F475 | Уплотнение | |
| 48 | 36817167 | Прокладка | |
| 49 | 746211 | Винт | |
| 50 | 920003 | Шайба | |
| 51 | 350009 | Штифт | |
| 52 | 2172530 | Винт | |
| 53 | 33112111 | Шайба | |
| 54 | 650594 | Пробка | |
| 55 | 32114143 | Пробка | |
| 56 | 6505588 | Пробка | |
| 57 | 3681Е018 | Прокладка | |
| 58 | 2182110 | Винт | |
| 59 | 920155 | Шайба | |
| 60 | 32116006 | Пробка | |
| 61 | 650588 | Пробка | |
| 62 | 32452113 | Указатель | |
| 63 | 826481 | Ось |
Содержащиеся в справочниках-каталогах запасные части и детали не предлагаются к продаже, а носят исключительно информационный характер