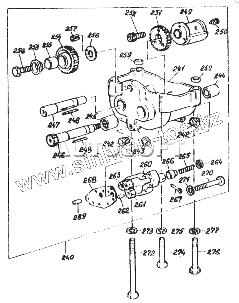
Каталог запасных частей к технике: Атек-2324-1. Двигатель
240
241
242
242
243
244
245
246
247
248
248
249
250
251
252
253
254
255
256
257
258
259
259
260
261
262
263
264
265
266
267
268
269
270
271
272
273
274
275
276
| Позиция на иллюстрации | Заводской номер детали | Название детали | |
|---|---|---|---|
| 240 | 41733062 | Балансир | |
| 241 | [Рама] | Рама | |
| 242 | 2431131 | Пробка | |
| 243 | 2431А051 | Пробка | |
| 244 | 2557182 | Подшипник | |
| 245 | 2557181 | Подшипник | |
| 246 | 31171276 | Вал | |
| 247 | 32731127 | Вал | |
| 248 | 2576675 | Шпонка | |
| 249 | 37417474 | Грузик | |
| 250 | 2171225 | Винт | |
| 251 | 31164582 | Зубчатое колесо | |
| 252 | 2172513 | Винт | |
| 253 | 33451801 | Ступица | |
| 254 | 41115082 | Зубчатое колесо | |
| 255 | 2511458 | Втулка | |
| 256 | 33153133 | Пластина | |
| 257 | 610878 | Палец | |
| 258 | 96633 | Болт | |
| 259 | 33137408 | Втулка | |
| 260 | 37714234 | Корпус | |
| 261 | 31165461 | Зубчатое колесо | |
| 262 | 32455123 | Вал | |
| 263 | 31165531 | Зубчатое колесо | |
| 264 | 33157122 | Крышка | |
| 265 | 31742128 | Пружина | |
| 266 | 32712715 | Плунжер | |
| 267 | 610012 | Палец | |
| 268 | 36237156 | Пластина | |
| 269 | 350005 | Штифт | |
| 270 | 96236 | Винт | |
| 271 | 920053 | Шайба | |
| 272 | 2184546 | Винт | |
| 273 | 920054 | Шайба | |
| 274 | 96439 | Винт | |
| 275 | 920054 | Шайба | |
| 276 | 96441 | Винт |
Содержащиеся в справочниках-каталогах запасные части и детали не предлагаются к продаже, а носят исключительно информационный характер