Каталог запасных частей к технике: Атек-2324-1. Двигатель
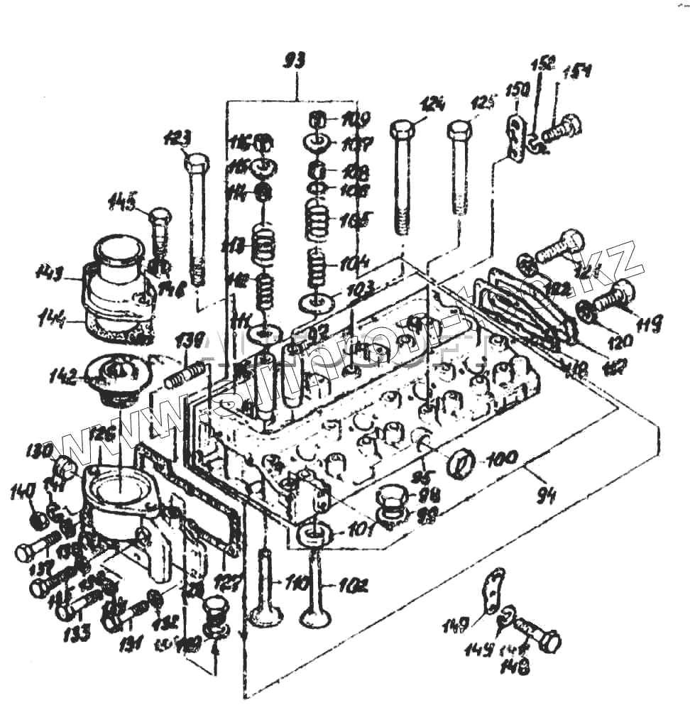
93
94
95
96
97
98
99
100
101
102
103
104
105
106
107
108
109
110
111
112
113
114
115
116
117
118
119
119
120
121
122
123
124
125
126
127
128
129
130
131
132
133
135
136
137
138
139
140
141
142
143
144
145
146
147
148
149
150
151
152
| Позиция на иллюстрации | Заводской номер детали | Название детали | |
|---|---|---|---|
| 93 | zz80072 | Головка цилиндра | |
| 94 | zz80061 | Головка цилиндра | |
| 95 | [Головка цилиндра] | Головка цилиндра | |
| 96 | 3343F002 | Направляющая | |
| 97 | 3343J002 | Направляющая | |
| 98 | 650203 | Пробка | |
| 99 | 2411157 | Шайба | |
| 100 | 660710 | Пробка | |
| 101 | 33152153 | Втулка | |
| 102 | 3142А052 | Выпускной клапан | |
| 103 | 33415118 | Шайба | |
| 104 | 31744131 | Пружина | |
| 105 | 31746121 | Пружина | |
| 106 | 2415В201 | Кольцо | |
| 107 | 33423147 | Крышка | |
| 108 | 33817117 | Уплотнение | |
| 109 | 33173108 (Н) | Шплинт | |
| 110 | 31431315 | Всасывающий клапан | |
| 111 | 33415118 | Шайба | |
| 112 | 31744131 | Пружина | |
| 113 | 31745121 | Пружина | |
| 114 | 33817117 | Уплотнение | |
| 115 | 33423147 | Крышка | |
| 116 | 33173108 (Н) | Шплинт | |
| 117 | 3623К007 | Пластина | |
| 118 | 3685R004 | Соединение | |
| 119 | 746452 | Винт | |
| 120 | 920054 | Шайба | |
| 121 | 746452 | Винт | |
| 122 | 920054 | Шайба | |
| 123 | 32166337 | Винт | |
| 124 | 32166338 | Винт | |
| 125 | 32166339 | Винт | |
| 126 | 37766626 | Корпус | |
| 127 | 36853514 | Шарнир | |
| 128 | 650203 | Пробка | |
| 129 | 2411157 | Шайба | |
| 130 | 2431154 | Пробка | |
| 131 | 746255 | Винт | |
| 132 | 920053 | Шайба | |
| 133 | 96431 | Винт | |
| 134 | 920054 | Шайба | |
| 135 | 96237 | Винт | |
| 136 | 920053 | Шайба | |
| 137 | 96438 | Болт | |
| 138 | 920054 | Шайба | |
| 139 | 2217207 | Ось | |
| 140 | 576051 | Гайка | |
| 141 | 930054 | Шайба | |
| 142 | 2485666 | Термостат | |
| 143 | 37464583 | Патрубок | |
| 144 | 36834147 | Шарнир | |
| 145 | 96432 | Винт | |
| 146 | 920054 | Шайба | |
| 147 | 36460004 | Пластина | |
| 148 | 746453 | Винт | |
| 149 | 920064 | Шайба | |
| 150 | 36177П1 | Пластина | |
| 151 | 746453 | Винт | |
| 152 | 980064 | Шайба | |
| 153 | zz90030 | Коромысло в сборе | |
| 154 | zz90032 | Коромысло |
Содержащиеся в справочниках-каталогах запасные части и детали не предлагаются к продаже, а носят исключительно информационный характер