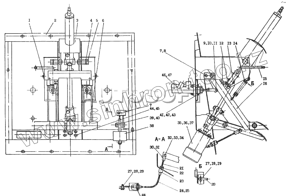
Каталог запасных частей к технике: Атек-2324-1. Блок управления
1
2
3
4
5
6
7
7
8
9
10
11
12
13
14
15
16
17
18
19
20
21
21
22
23
24
26
26
27
28
29
30
31
32
33
34
35
36
37
38
39
40
41
42
43
44
45
46
47
| Позиция на иллюстрации | Заводской номер детали | Название детали | |
|---|---|---|---|
| 1 | 32.5200.100 | Ось | |
| 2 | 69.5201.000 | Короб | |
| 3 | 69.5202.000 | Колонка рулевая | |
| 4 | [Шайба 18.65Г.019 ГОСТ 6402] | Шайба 18.65Г.019 ГОСТ 6402 | |
| 5 | 22.6200.001 | Болт | |
| 6 | 22.5205.000 | Педаль тормоза правая | |
| 7 | [Болт М6-6gх20.58.019 ГОСТ 7798] | Болт М6-6gх20.58.019 ГОСТ 7798 | |
| 8 | [Шайба 6.65Г.019 ГОСТ 6402] | Шайба 6.65Г.019 ГОСТ 6402 | |
| 9 | 22.5200.006 | Ось | |
| 10 | [Шайба 8.04.019 ГОСТ 11371] | Шайба 8.04.019 ГОСТ 11371 | |
| 11 | [Шплинт 2,5х16.019 ГОСТ 397] | Шплинт 2,5х16.019 ГОСТ 397 | |
| 12 | 22.5200.006 | Ось | |
| 13 | 22.5200.002 | Ось | |
| 14 | 22.0421.001 | Пружина | |
| 15 | 77.5203.000 | Фиксатор | |
| 16 | 22.5204.000 | Педаль тормоза левая | |
| 17 | 22.5200.003 | Ось | |
| 18 | [Шайба 4.04.019 ГОСТ 11371] | Шайба 4.04.019 ГОСТ 11371 | |
| 19 | [Шплинт 1,6х10.019 ГОСТ 397] | Шплинт 1,6х10.019 ГОСТ 397 | |
| 20 | 22.5200.004 | Палец | |
| 21 | 22.5207.005 | Шнур | |
| 21 | 22.5207.006 | Шнур | |
| 22 | [Шайба 12.65Г.019 ГОСТ 6402] | Шайба 12.65Г.019 ГОСТ 6402 | |
| 23 | 22.5202.101 | Втулка | |
| 24 | 22.5207.106 | Оплетка | |
| 26 | [Гайка М12х1,25-6Н.04.019 ГОСТ 15522] | Гайка М12х1,25-6Н.04.019 ГОСТ 15522 | |
| 26 | 22.5207.107 | Труба | |
| 27 | [Шайба 6.04.019 ГОСТ 11371] | Шайба 6.04.019 ГОСТ 11371 | |
| 28 | [Винт ВМ5-6gх12.58.019 ГОСТ 17473] | Винт ВМ5-6gх12.58.019 ГОСТ 17473 | |
| 29 | 69.5200.001 | Переходник | |
| 30 | 22.5207.002 | Зажим | |
| 31 | 22.5207.001 | Вилка | |
| 32 | [Шайба 5.04.019 ГОСТ 11371] | Шайба 5.04.019 ГОСТ 11371 | |
| 33 | 02.1204.006 | Палец | |
| 34 | [Винт ВМ5-6gх10.58.019 ГОСТ 17473] | Винт ВМ5-6gх10.58.019 ГОСТ 17473 | |
| 35 | ТG10-912-109 | Винт М10х45 | |
| 36 | 1VР01-1НNN012.047 | Блок клапанный | |
| 37 | 1АGВ250-1ТG137844 | Агрегат рулевой | |
| 38 | 22.5206.000 | Педаль газа | |
| 39 | [Шплинт 3,2х32.019 ГОСТ 397] | Шплинт 3,2х32.019 ГОСТ 397 | |
| 40 | [Шайба 16.04.019 ГОСТ 11371] | Шайба 16.04.019 ГОСТ 11371 | |
| 41 | [Болт М8-64Х25.58.019 ГОСТ 7798] | Болт М8-64Х25.58.019 ГОСТ 7798 | |
| 42 | [Гайка М8-6Н.5.019 ГОСТ 5915] | Гайка М8-6Н.5.019 ГОСТ 5915 | |
| 43 | [Шайба 8.65Г.019 ГОСТ 6402] | Шайба 8.65Г.019 ГОСТ 6402 | |
| 44 | [Шайба 10.65Г.019 ГОСТ 6402] | Шайба 10.65Г.019 ГОСТ 6402 | |
| 45 | [Болт М10-6gх20.58.019 ГОСТ 7798] | Болт М10-6gх20.58.019 ГОСТ 7798 | |
| 46 | 69.5200.002 | Прокладка | |
| 47 | 1471975 М92 | Цилиндр тормозной |
Содержащиеся в справочниках-каталогах запасные части и детали не предлагаются к продаже, а носят исключительно информационный характер