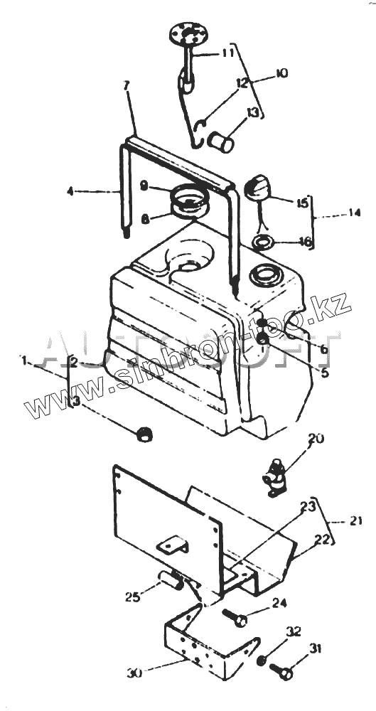
Каталог запасных частей к технике: Атек-2324-1. Бак топливный
1
2
3
4
5
6
7
8
9
10
11
12
13
14
15
16
20
21
22
23
24
25
30
31
32
| Позиция на иллюстрации | Заводской номер детали | Название детали | |
|---|---|---|---|
| 1 | 3516172 М91 | Бак | |
| 2 | 3515172 М91 | Бак топливный | |
| 3 | 339183х1 | Гайка | |
| 4 | 3515174 М91 | Скоба | |
| 5 | 1441500х1 | Гайка | |
| 6 | 390971х1 | Шайба | |
| 7 | 3516323 М1 | Прокладка | |
| 8 | 1694979 М1 Lоскing | Кольцо | |
| 9 | 1694980 М1 Sеаling | Кольцо | |
| 10 | 3515173 М91 | Датчик | |
| 11 | 3616173 М91 | Датчик | |
| 12 | 3473888 М1 | Поплавок | |
| 13 | 1897459 М1 | Хомут | |
| 14 | 3515324 М91 | Крышка | |
| 15 | 3516324 М91 | Крышка | |
| 16 | 3523025 М1 | Кольцо уплотнительное | |
| 20 | 1694985 М92 | Кран | |
| 21 | 3515196 М94 | Кронштейн | |
| 22 | 3515196 М94 | Кронштейн | |
| 23 | 3515576 М1 20х30х450 мм | Прокладка | |
| 24 | 353544х1 | Винт | |
| 25 | 1459459 М1 | Распорка | |
| 30 | 3515165 М92 | Скоба | |
| 31 | 339061х1 | Винт | |
| 32 | 390597х1 | Шайба |
Содержащиеся в справочниках-каталогах запасные части и детали не предлагаются к продаже, а носят исключительно информационный характер