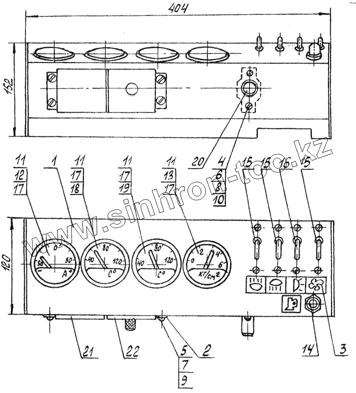
Каталог запасных частей к технике: АОМЗ ЛТ-72 Б. Щиток приборов
1
2
3
4
5
6
7
8
9
10
11
11
11
11
12
13
14
15
15
15
16
17
17
17
17
18
19
20
21
22
| Позиция на иллюстрации | Заводской номер детали | Название детали | |
|---|---|---|---|
| 1 | ЛТ-72Б.23.110 | Корпус | |
| 2 | ЛТ-72Б.23.101 | Скоба | |
| 3 | ЛТ-72Б.23.102 | Табличка | |
| 4 | Винт ВМ4х12 | Винт ВМ4х12 | |
| 5 | Винт ВМ6х12 | Винт ВМ6х12 | |
| 6 | Гайка М4 | Гайка М4 | |
| 7 | Гайка М6 | Гайка М6 | |
| 8 | Шайба 4.65Г | Шайба 4.65Г | |
| 9 | Шайба 6.65Г | Шайба 6.65Г | |
| 10 | Шайба 4.01.08 кп | Шайба 4.01.08 кп | |
| 11 | Лампа А12-1 | Лампа А12-1 | |
| 12 | Указатель тока АП110 | Указатель тока АП110 | |
| 13 | Указатель давления масла МД224 | Указатель давления масла МД224 | |
| 14 | Выключатель ВК322 | Выключатель ВК322 | |
| 15 | Выключатель 46.3710 | Выключатель 46.3710 | |
| 16 | Переключатель 513.709 | Переключатель 513.709 | |
| 17 | Патрон ламп ЛВ211 | Патрон ламп ЛВ211 | |
| 18 | Приемник указателей температуры УК133АМ | Приемник указателей температуры УК133АМ | |
| 19 | Приемник указателей температуры УК133АВ | Приемник указателей температуры УК133АВ | |
| 20 | Предохранитель термобиметаллический ПР2-Б | Предохранитель термобиметаллический ПР2-Б | |
| 21 | Блок предохранителей ПР11-К | Блок предохранителей ПР11-К | |
| 22 | Блок предохранителей 11.3722 | Блок предохранителей 11.3722 |
Содержащиеся в справочниках-каталогах запасные части и детали не предлагаются к продаже, а носят исключительно информационный характер