Каталог запасных частей к технике: АОМЗ ЛТ-72 Б. Редуктор промежуточный
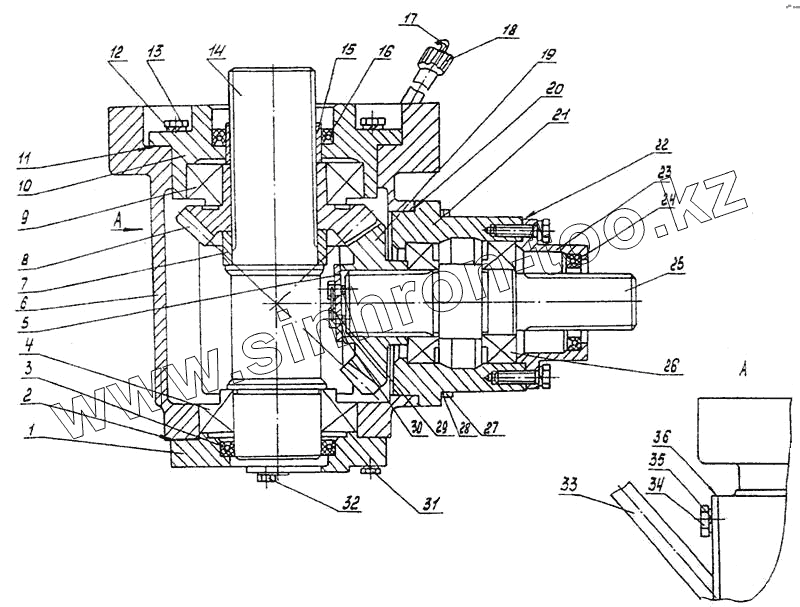
1
2
3
4
5
6
7
8
9
10
11
12
13
14
15
16
17
18
19
20
21
22
23
24
25
26
27
28
29
30
31
32
33
34
35
36
| Позиция на иллюстрации | Заводской номер детали | Название детали | |
|---|---|---|---|
| 1 | МЛ-78.09.00.003 | Крышка | |
| 2 | МЛ-78.04.00.029-01 | Прокладка | |
| 3 | Манжета 1.1-80х105-1 {ГОСТ 8752-79} | Манжета 1.1-20х40-1 | |
| 4 | Подшипник 7516 {ТУ 37.006.162-89} | Подшипник 7516 | |
| 5 | МЛ-78.04.00.039 | Шайба | |
| 6 | МЛ-78.09.00.004 | Корпус | |
| 7 | МЛ-78.04.00.008 | Втулка распорная | |
| 8 | МЛ-78.04.00.017 | Колесо зубчатое коническое | |
| 9 | Подшипник 7518 {ТУ 37.006.162-89} | Подшипник 7516 | |
| 10 | МЛ-78.09.00.001 | Обойма | |
| 11 | МЛ-78.04.00.037 | Прокладка | |
| 12 | Шайба 12.65Г {ГОСТ 6402-70} | Шайба 8.65Г | |
| 13 | Болт М12-6gх35.66 {ГОСТ 7798-70} | Болт М8-6gх35.66 | |
| 14 | МЛ-78.09.00.002 | Вал | |
| 15 | МЛ-78.09.00.005 | Втулка | |
| 16 | Манжета 1.1-85х110-1 {ГОСТ 8752-79} | Манжета 1.1-20х40-1 | |
| 17 | МЛ-78.09.00.009 | Щуп | |
| 18 | ЛТ-72.18А.008 | Пробка | |
| 19 | МЛ-78.04.00.016 | Колесо зубчатое коническое | |
| 20 | МЛ-78.09.00.008 | Прокладка | |
| 21 | МЛ-78.09.00.006 | Корпус | |
| 22 | МЛ-78.04.00.033-03 | Прокладка | |
| 23 | МЛ-78.04.00.018 | Крышка | |
| 24 | Манжета 1.1-65х90-1 {ГОСТ 8752-79} | Манжета 1.1-20х40-1 | |
| 25 | МЛ-78.09.00.007 | Вал | |
| 26 | Подшипник 7512 {ТУ 37.006.162-89} | Подшипник 7516 | |
| 27 | Болт М16-6gх45.66 {ГОСТ 7798-70} | Болт М8-6gх35.66 | |
| 28 | Шайба 16.65Г {ГОСТ 6402-70} | Шайба 8.65Г | |
| 29 | Проволока 2,5-0-С {ГОСТ 3282-74} | Проволока 1,6 | |
| 30 | Болт 3М10-6gх25.66 {ГОСТ 7798-70} | Болт М8-6gх35.66 | |
| 31 | Болт М12-6gх45.66 {ГОСТ 7798-70} | Болт М8-6gх35.66 | |
| 32 | ЛТ-72.18.011 | Пробка | |
| 33 | МЛ-78.09.00.100 | Горловина заливная | |
| 34 | Болт М8-6gх20.66 {ГОСТ 7798-70} | Болт М8-6gх35.66 | |
| 35 | Шайба 8.65Г {ГОСТ 6402-70} | Шайба 8.65Г | |
| 36 | ЛТ-72.03А.045 | Прокладка |
Содержащиеся в справочниках-каталогах запасные части и детали не предлагаются к продаже, а носят исключительно информационный характер