Вернуться на главную
Поиск
Каталоги запчастей к технике
Спецтехника
АОМЗ
ЛТ-72 Б
Муфта цепная
Каталог запасных частей к технике: АОМЗ ЛТ-72 Б. Муфта цепная
zoom-in
zoom-out
enlarge
shrink
circle-right
circle-left
file-text2
info
cart
Тип техники
Не выбрано
Легковые автомобили
Грузовые автомобили и прицепы
Автобусы
Сельхозтехника
Спецтехника
Двигатели
Мототехника
Марка
Не выбрано
Ammann
BOMAG
CARMIX
CASE IH
Changlin
ChengGong
Dimex
Doosan
DYNAPAC
Foton
HAMM
Hidromek
Hitachi
Hyundai
JCB
JLG
John Deere
Komatsu
LIEBHERR
LiuGong
Lonking (LongGong)
Luneng
MANITOU
Mitsuber
New Holland
PENGPU
RM-Terex
SANY
SDLG
SEM
Shantui
Shehwa HBXG
Soosan
TIGARBO
VOGELE
Volvo
WAY
WIRTGEN
XCMG
XGMA
Xiamen
YTO
Yuchai
Zoomlion
Автокран
АЗСМ
Алтайлесмаш
Амкодор
АОМЗ
Атек
АТЗ
Балканкар Рекорд
БелАЗ
Беловеж
Борекс
Брянский Арсенал
Булат
ВЭКС
ГАЗ
Геомаш
Гидромаш
Донекс
Дормаш
Дормашина
Дорэлектромаш
ДЭЗ
ЕлАЗ
ЗЗГТ
Ижнефтемаш
Канаш-электрокар
КЗКТ
ККЗ
Клевер
Клинцовский автокрановый завод
КМЗ
КМЗ 1 Мая
Ковровец
Коммаш
Кранэкс
КЭЗ
КЭМЗ
ЛЗА
МАЗ
МЗИК
МЗКМ
МЗКТ
Михневский РМЗ
МоАЗ
Мозырский МЗ
МТЗ
ОЗП
Онежец
ПАО "ТЗА"
ППС Детва
Промтрактор
ПТЗ
Раскат
СпецАгрегат
ТВЭКС
ТТМ
УВЗ
Угличмаш
УЗТМ
ХТЗ
ЧЗКМ
ЧСДМ
ЧТЗ
ЭКСКО
ЭКСМАШ
ЮрМаш
Модель
Не выбрано
ЛТ-72 Б (2002)
Схема
>
Не выбрано
Кабина
Кабина
Отопление кабины воздушное
Капот
Противовес
Круг поворотный
Рама поворотная
Установка двигателя
Бензобак
Установка топливного бака
Установка топливного бака
Механизм ручного управления газом
Шторка радиатора
Шторка радиатора
Редуктор вращения
Привод захвата
Редуктор промежуточный
Муфта цепная
Управление муфтой сцепления и газом
Коробка перемены передач
Коробка перемены передач
Фланец заднего моста
Привод управления задним мостом
Рама
Рама
Портал
Соединение бесшланговое рамы
Система ходовая
Система ходовая
Система ходовая
Система ходовая
Система ходовая
Система ходовая
Система ходовая
Система ходовая
Управление стояночным тормозом
Монтаж электрооборудования
Жгут
Жгут
Щиток приборов
Гидроцилиндр подъема стрелы и рукояти
Бак масляный
Монтаж трубопроводов
Монтаж трубопроводов
Клапан предохранительный
Рычаг управления
Управление распределителем
Гидроцилиндр зажима челюсти
Клапан
Гидроцилиндр
Гидроцилиндр
Захват в сборе
Рукоять
Стрела
Ковш с приводом
Грейфер
Погрузчик-штабелер
Погрузчик-штабелер
Погрузчик-штабелер
Схема кинематическая принципиальная
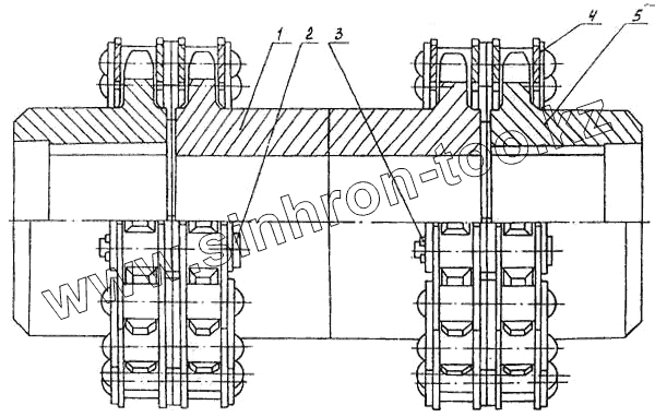
1
2
3
4
5
Позиция на иллюстрации
Заводской номер детали
Название детали
1
МЛ-78.00.07.100
Блок звездочек
2
ЛТ-72Б.07.001
Валик
3
Шплинт 2.5х20 {ГОСТ 397-79}
Шплинт 3.2х20
4
Цепь 2ПР-25,4-11400 {ГОСТ 13568-75}
Цепь 2ПР-25,4-11400
5
МЛ-78.00.07.101-01
Полумуфта
Содержащиеся в справочниках-каталогах запасные части и детали не предлагаются к продаже, а носят исключительно информационный характер
Дополнительная информация
×
Название:
Номер:
Примечание: