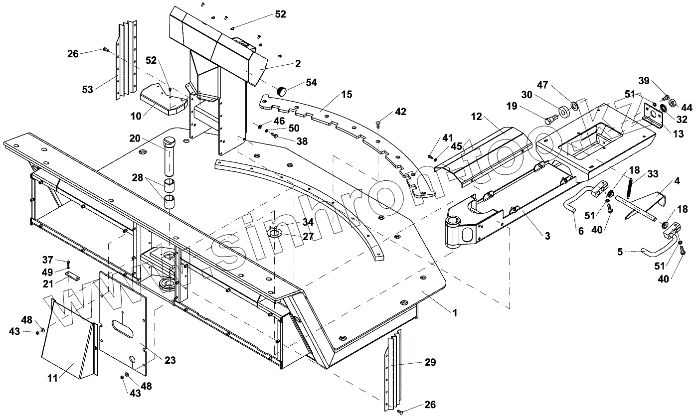
Каталог запасных частей к технике: Ammann AV 110 X. ПЛАТФОРМА
1
2
3
4
5
6
10
11
12
13
15
18
18
19
20
21
23
26
26
27
28
29
30
32
33
34
37
38
39
40
40
41
42
43
43
44
45
46
47
48
48
49
50
51
51
51
52
52
53
54
| Позиция на иллюстрации | Заводской номер детали | Название детали | |
|---|---|---|---|
| ND125990 | ND125990 | ПЛАТФОРМА | |
| 1 | ND125987 | РАМА | |
| 2 | ND125994 | КОЛОНКА | |
| 3 | ND125988 | КОНСОЛЬ | |
| 4 | ND125996 | АРРЕТИРОВАНИЕ | |
| 5 | ND125997 | ПЕДАЛЬ ЛЕВАЯ | |
| 6 | ND125998 | ПРАВАЯ ПЕДАЛЬ | |
| 10 | ND125999 | КОЖУХ | |
| 11 | ND126052 | КОЖУХ | |
| 12 | ND126007 | ЛИСТ КРОЮЩИЙ | |
| 13 | ND125989 | ПРЕДОХРАНИТЕЛЬ | |
| 15 | ND125991 | ДОРОГА | |
| 18 | ND126001 | ВСТАВКА | |
| 19 | ND126008 | ВАЛ | |
| 20 | ND125992 | ЦАПФА | |
| 21 | ND126009 | НАКЛАДКА | |
| 23 | ND126053 | РЕЗИНА | |
| 26 | ND078508 | СКОБА | |
| 27 | ND120030 | КОЛЬЦО АКСИАЛЬНОЕ | |
| 28 | ND035972 | ВТУЛКА | |
| 29 | ND129844 | МАНЖЕТА | |
| 30 | ND069179 | ПОДШИПНИК | |
| 32 | ND035943 | ШАЙБА | |
| 33 | ND037298 | ПРУЖИНА | |
| 34 | ND032880 | ШТИФТ ЦИЛИНДРИЧ. | |
| 37 | ND021288 | БОЛТ | |
| 38 | ND021294 | БОЛТ | |
| 39 | ND021301 | БОЛТ | |
| 40 | ND021303 | БОЛТ | |
| 41 | ND024135 | БОЛТ | |
| 42 | ND024391 | БОЛТ С ПОТЯЖ. ГОЛ. | |
| 43 | ND021847 | ГАЙКА | |
| 44 | ND021851 | ГАЙКА | |
| 45 | ND029248 | ШАЙБА | |
| 46 | ND029249 | ШАЙБА | |
| 47 | ND029255 | ШАЙБА | |
| 48 | ND029282 | ШАЙБА | |
| 49 | ND029309 | ПРУЖИННАЯ ШАЙБА | |
| 50 | ND029310 | ПРУЖИННАЯ ШАЙБА | |
| 51 | ND029311 | ПРУЖИННАЯ ШАЙБА | |
| 52 | ND124536 | БОЛТ | |
| 53 | ND129845 | МАНЖЕТА | |
| 54 | ND118631 | ПРОБКА |
Содержащиеся в справочниках-каталогах запасные части и детали не предлагаются к продаже, а носят исключительно информационный характер